欢迎来到知嘟嘟! 联系电话:13336804447 卖家免费入驻,海量在线求购! 卖家免费入驻,海量在线求购!
知嘟嘟
我要发布
联系电话:13336804447
知嘟嘟经纪人
收藏
专利号: 2023225834596
专利类型:实用新型
专利状态:未下证
专利领域: 暂无
更新日期:2024-05-31
缴费截止日期: 暂无
价格&联系人
年费信息
委托购买

摘要:

权利要求书:

1.一种用于半挂车的空气悬挂支座结构,其特征在于,包括:第一板簧(1)、第二板簧(4)和空气悬挂主体(6),所述第一板簧(1)的底端贴合有第二板簧(4),所述第一板簧(1)和第二板簧(4)的一端中部两侧均套设有紧箍(2),所述第二板簧(4)的一端插接有支座板(5),所述支座板(5)的内部两侧中处均开设有凹槽口(10),所述凹槽口(10)的内部插接有支撑横板(8),所述支撑横板(8)的内部开设有若干开口槽(9),所述开口槽(9)和第二板簧(4)之间螺纹固定有第二螺栓(13),所述第二板簧(4)的两侧和支座板(5)之间两侧均固定连接有减震阻尼(16),所述减震阻尼(16)的外部套设有缓冲弹簧(17)。

2.根据权利要求1所述的一种用于半挂车的空气悬挂支座结构,其特征在于,所述减震阻尼(16)和缓冲弹簧(17)的一端均固定连接有抵触块(15),且抵触块(15)和第二板簧(4)抵触配合。

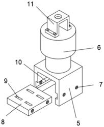
3.根据权利要求1所述的一种用于半挂车的空气悬挂支座结构,其特征在于,所述支座板(5)和支撑横板(8)的两侧均开设有若干螺纹孔(7),所述螺纹孔(7)的内部螺纹连接有第一螺栓(12)。

4.根据权利要求1所述的一种用于半挂车的空气悬挂支座结构,其特征在于,所述支座板(5)的顶端中部固定连接有空气悬挂主体(6),所述空气悬挂主体(6)的顶端固定连接有连接方形块(11)。

5.根据权利要求4所述的一种用于半挂车的空气悬挂支座结构,其特征在于,所述连接方形块(11)四角和空气悬挂主体(6)之间螺栓连接。

6.根据权利要求1所述的一种用于半挂车的空气悬挂支座结构,其特征在于,所述第二板簧(4)的下表面一侧固定连接有支撑横梁(3)。

7.根据权利要求1所述的一种用于半挂车的空气悬挂支座结构,其特征在于,所述第二板簧(4)的一端和支座板(5)之间设置有橡胶层(14),且橡胶层(14)和支座板(5)固定连接。

8.根据权利要求1所述的一种用于半挂车的空气悬挂支座结构,其特征在于,所述第二板簧(4)的一端呈弧形结构。