欢迎来到知嘟嘟! 联系电话:13336804447 卖家免费入驻,海量在线求购! 卖家免费入驻,海量在线求购!
知嘟嘟
我要发布
联系电话:13336804447
知嘟嘟经纪人
收藏
专利号: 2021226439186
申请人: 临安学军葡萄园
专利类型:实用新型
专利状态:已下证
专利领域: 农业;林业;畜牧业;狩猎;诱捕;捕鱼
更新日期:2024-02-28
缴费截止日期: 暂无
价格&联系人
年费信息
委托购买

摘要:

权利要求书:

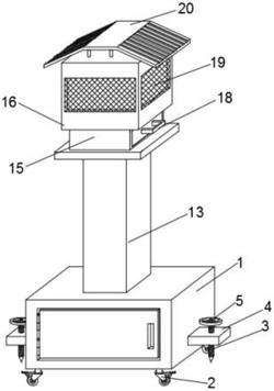
1.一种春香柑橘种植用防虫装置,其特征在于,包括支撑机构和灭虫机构;

所述支撑机构包括底座(1)、螺纹杆(6)、通口(7)、从动锥齿轮(9)、驱动电机(10)、主动锥齿轮(11)、升降柱(13)和限位杆(14),所述底座(1)的内部转动连接有螺纹杆(6),所述底座(1)的顶部上开设有供螺纹杆(6)穿过的通口(7),所述螺纹杆(6)的下部固定安装有从动锥齿轮(9),所述底座(1)的内部固定安装有驱动电机(10),所述驱动电机(10)的驱动端固定安装有主动锥齿轮(11),所述主动锥齿轮(11)与从动锥齿轮(9)啮合连接,所述螺纹杆(6)上螺纹连接有升降柱(13),所述升降柱(13)的内部开设有与螺纹杆(6)相适配的螺纹盲孔,所述升降柱(13)的内部滑动连接有两个限位杆(14),所述限位杆(14)的底端与底座(1)的顶部固定连接;

所述灭虫机构包括灭虫箱(15)、灭虫灯(16)、收虫盒(17)、把手(18)、滤网(19),所述灭虫箱(15)固定安装在升降柱(13)的顶部,所述灭虫箱(15)的内顶壁上固定安装有灭虫灯(16),所述灭虫箱(15)的内底部滑动连接有收虫盒(17),所述灭虫箱(15)的一侧开设有供收虫盒(17)滑动的取放口,所述收虫盒(17)穿过取放口延伸至灭虫箱(15)外部的一侧固定安装有把手(18),所述灭虫箱(15)四周的外壁上均开设有开口,所述开口的内部固定安装有滤网(19)。

2.根据权利要求1所述的一种春香柑橘种植用防虫装置,其特征在于,所述底座(1)的底部固定安装有四个锁止万向轮(2),四个所述锁止万向轮(2)分别位于底座(1)底部的四角处。

3.根据权利要求1所述的一种春香柑橘种植用防虫装置,其特征在于,所述底座(1)左右的两侧壁上均固定安装有限位板(3),所述限位板(3)上贯穿开设有螺纹通孔,所述螺纹通孔的内部螺纹连接有螺钉(4)。

4.根据权利要求3所述的一种春香柑橘种植用防虫装置,其特征在于,所述螺钉(4)的顶端固定安装有转动手轮(5),所述转动手轮(5)为圆盘形状。

5.根据权利要求1所述的一种春香柑橘种植用防虫装置,其特征在于,所述通口(7)的内壁上固定安装有密封圈(8),所述密封圈(8)为橡胶材质。

6.根据权利要求1所述的一种春香柑橘种植用防虫装置,其特征在于,所述底座(1)的内部固定安装有蓄电池(12),所述驱动电机(10)和灭虫灯(16)均与蓄电池(12)电性连接。

7.根据权利要求1所述的一种春香柑橘种植用防虫装置,其特征在于,所述底座(1)的正面铰接有检修门,所述检修门的正面开设有手扣槽。

8.根据权利要求1所述的一种春香柑橘种植用防虫装置,其特征在于,所述灭虫箱(15)的顶部固定安装有防雨顶棚(20),所述防雨顶棚(20)的顶面开设有导水槽。