欢迎来到知嘟嘟! 联系电话:13336804447 卖家免费入驻,海量在线求购! 卖家免费入驻,海量在线求购!
知嘟嘟
我要发布
联系电话:13336804447
知嘟嘟经纪人
收藏
专利号: 2021226443020
申请人: 临安学军葡萄园
专利类型:实用新型
专利状态:已下证
专利领域: 农业;林业;畜牧业;狩猎;诱捕;捕鱼
更新日期:2025-12-10
缴费截止日期: 暂无
价格&联系人
年费信息
委托购买

摘要:

权利要求书:

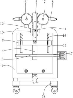
1.一种春香柑橘种植用浇灌装置,其特征在于,包括:

箱体;

压力板,所述压力板密封滑动安装在所述箱体内;

转动轴,所述转动轴转动安装在所述箱体内,且所述转动轴的一端延伸至箱体外;

凸轮,所述凸轮固定安装在所述转动轴上,且所述凸轮与压力板滑动连接;

第一齿条,所述第一齿条滑动安装在所述压力板上,且所述第一齿条的顶端延伸至箱体外;

两个安装管,两个所述安装管对称转动安装在所述箱体上;

齿轮,所述齿轮固定安装在所述安装管上,且两个所述齿轮与第一齿条相适配;

喷洒头,所述喷洒头固定安装在所述安装管上,且所述喷洒头与安装管相连通;

第二齿条,所述第二齿条设在所述箱体上,且所述第二齿条与两个齿轮相适配。

2.根据权利要求1所述的春香柑橘种植用浇灌装置,其特征在于,所述箱体上开设有滑动孔,所述滑动孔内转动安装有第一螺纹杆,所述第一螺纹杆上螺纹安装有两个限位块,两个所述限位块分别与对应的第一齿条和第二齿条滑动连接,一个所述限位块上转动安装有第二螺纹杆,所述第二螺纹杆与第二齿条螺纹连接。

3.根据权利要求1所述的春香柑橘种植用浇灌装置,其特征在于,所述箱体上固定安装有两个输送管,两个所述输送管分别与对应的安装管相连通,所述箱体的内壁上开设有两个输水口,两个所述输水口与对应的输送管相连通,所述输水口内设有第一单向阀,所述箱体的底部内壁上开设有进水口,所述进水口内固定安装有第二单向阀。

4.根据权利要求1所述的春香柑橘种植用浇灌装置,其特征在于,所述箱体内对称固定安装有两个定位杆,两个所述定位杆与压力板密封滑动连接,所述定位杆上套设有弹簧,两个所述弹簧的顶端与箱体的内壁固定连接,两个所述弹簧的底端与压力板固定连接。

5.根据权利要求1所述的春香柑橘种植用浇灌装置,其特征在于,所述箱体上固定安装有第一电机,所述第一电机的输出轴与转动轴固定连接。

6.根据权利要求1所述的春香柑橘种植用浇灌装置,其特征在于,所述箱体的底部设有安装框,所述安装框的底部固定安装有四个万向轮。

7.根据权利要求1所述的春香柑橘种植用浇灌装置,其特征在于,所述箱体上对称转动安装有两个螺纹套筒,两个所述螺纹套筒上均固定安装有皮带轮,两个所述皮带轮上套设有同一个皮带。

8.根据权利要求7所述的春香柑橘种植用浇灌装置,其特征在于,所述螺纹套筒内螺纹安装有螺纹柱,两个所述螺纹柱的底端均与安装框固定连接。

9.根据权利要求7所述的春香柑橘种植用浇灌装置,其特征在于,所述箱体上固定安装有第二电机,所述第二电机的输出轴与一个所述螺纹套筒固定连接。