欢迎来到知嘟嘟! 联系电话:13336804447 卖家免费入驻,海量在线求购! 卖家免费入驻,海量在线求购!
知嘟嘟
我要发布
联系电话:13336804447
知嘟嘟经纪人
收藏
专利号: 2021227265393
申请人: 临安学军葡萄园
专利类型:实用新型
专利状态:已下证
专利领域: 农业;林业;畜牧业;狩猎;诱捕;捕鱼
更新日期:2025-01-06
缴费截止日期: 暂无
价格&联系人
年费信息
委托购买

摘要:

权利要求书:

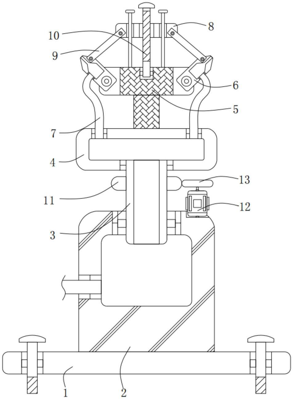
1.一种春香柑橘种植浇灌器,其特征在于,包括:

底座;

安装壳,所述安装壳设在所述底座的顶部;

连接管,所述连接管转动安装在所述安装壳的顶部,且所述连接管的底端密封延伸至所述安装壳内;

连接壳,所述连接壳固定安装在所述连接管的顶端,且所述连接管与所述连接壳密封相连通;

支撑块,所述支撑块固定安装在所述连接壳的顶部;

四个喷头,四个所述喷头对称转动安装在所述支撑块上;

软管,所述软管的顶端固定安装在所述喷头上,所述软管与所述喷头密封相连通,所述软管的底端与所述连接壳固定连接,且所述软管与所述连接壳密封相连通;

滑块,所述滑块滑动安装在所述支撑块的顶部;

连接杆,所述连接杆的一端转动安装在所述喷头上,且所述连接杆的另一端与所述滑块转动连接。

2.根据权利要求1所述的春香柑橘种植浇灌器,其特征在于,所述滑块上螺纹安装有第一螺纹杆,所述第一螺纹杆的底端与支撑块转动连接。

3.根据权利要求1所述的春香柑橘种植浇灌器,其特征在于,所述连接管上固定套设有第一直齿轮,所述安装壳的顶部固定安装有电机,所述电机的输出轴上固定安装有第二直齿轮,所述第一直齿轮与第二直齿轮啮合。

4.根据权利要求1所述的春香柑橘种植浇灌器,其特征在于,所述底座上对称转动安装有两个螺栓。

5.根据权利要求1所述的春香柑橘种植浇灌器,其特征在于,所述安装壳上固定安装有进水管,且所述进水管与安装壳密封相连通。

6.根据权利要求1所述的春香柑橘种植浇灌器,其特征在于,所述安装壳的底部开设有安装槽,所述安装槽的内壁上对称滑动安装有两个支持块,所述支持块上转动安装有支持杆,所述支持杆与底座转动连接。

7.根据权利要求6所述的春香柑橘种植浇灌器,其特征在于,所述安装槽的内壁上转动安装有第二螺纹杆,所述第二螺纹杆与两个支持块螺纹连接,且所述第二螺纹杆的一端延伸至安装槽外。