欢迎来到知嘟嘟! 联系电话:13336804447 卖家免费入驻,海量在线求购! 卖家免费入驻,海量在线求购!
知嘟嘟
我要发布
联系电话:13336804447
知嘟嘟经纪人
收藏
专利号: 2021221242044
申请人: 扬州市职业大学(扬州市广播电视大学)
专利类型:实用新型
专利状态:已下证
专利领域: 磨削;抛光
更新日期:2024-04-08
缴费截止日期: 暂无
价格&联系人
年费信息
委托购买

摘要:

权利要求书:

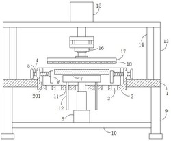
1.一种实木桌板表面平整刨削装置,包括有工作台(1),所述工作台(1)的台体上固定连接有固定架(13),所述固定架(13)的架体上安装有用于刨削加工的打磨片(18),其特征在于:所述工作台(1)的中部镶嵌有收纳框(2),所述收纳框(2)的上部端设有敞口结构,且所述收纳框(2)的两侧框壁上均转动连接有螺纹杆(5),所述螺纹杆(5)位于收纳框(2)内室的杆体上通过轴承转动连接有矩形板状的压板(6),所述工作台(1)的底部固定安装有液压推杆一(8),所述液压推杆一(8)的活塞杆端穿过收纳框(2)的底面延伸至内室并固定连接有水平设置的承载板(7),且所述收纳框(2)的框体内底部还开设有环形阵列分布的通孔(3),所述打磨片(18)的片体位于收纳框(2)敞口端的正上方。

2.根据权利要求1所述的一种实木桌板表面平整刨削装置,其特征在于:所述固定架(13)设置为L型折弯架,且所述固定架(13)的折弯部板体与工作台(1)之间固定连接有至少两组垂直设置的支撑杆(14)。

3.根据权利要求2所述的一种实木桌板表面平整刨削装置,其特征在于:所述固定架(13)的架体顶部固定安装有液压推杆二(15),所述液压推杆二(15)的活塞杆端固定安装有电机(16),所述电机(16)的输出轴端固定连接有圆形板状的旋转板(17),所述打磨片(18)的片体相应安装于旋转板(17)的底面上。

4.根据权利要求3所述的一种实木桌板表面平整刨削装置,其特征在于:所述收纳框(2)的框体上部突出于工作台(1)的端面,且所述收纳框(2)的内室宽度至少大于打磨片(18)的直径30cm。

5.根据权利要求4所述的一种实木桌板表面平整刨削装置,其特征在于:所述收纳框(2)的两侧框壁上均开设有凹槽(201),每组所述凹槽(201)的侧壁处均镶嵌安有螺纹套(4),所述螺纹杆(5)的杆体螺纹连接于螺纹套(4)内,且所述压板(6)的板体收纳时位于凹槽(201)的槽体内。

6.根据权利要求5所述的一种实木桌板表面平整刨削装置,其特征在于:所述工作台(1)的底部固定连接有至少四组支撑脚(9),所述支撑脚(9)之间固定连接有水平设置的横板(10),所述液压推杆一(8)的机体固定安装于横板(10)的上部。

7.根据权利要求6所述的一种实木桌板表面平整刨削装置,其特征在于:所述收纳框(2)的内室底部开设有导孔(11),所述承载板(7)的板体底部固定连接有导杆(12),所述导杆(12)的杆体滑动穿插于导孔(11)。