欢迎来到知嘟嘟! 联系电话:13336804447 卖家免费入驻,海量在线求购! 卖家免费入驻,海量在线求购!
知嘟嘟
我要发布
联系电话:13336804447
知嘟嘟经纪人
收藏
专利号: 2021220686584
申请人: 樊娅琼
专利类型:实用新型
专利状态:已下证
专利领域: 工程元件或部件;为产生和保持机器或设备的有效运行的一般措施;一般绝热
更新日期:2024-02-28
缴费截止日期: 暂无
价格&联系人
年费信息
委托购买

摘要:

权利要求书:

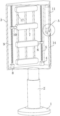
1.一种英语教学用趣味卡片展示装置,包括底座(1),其特征在于:所述底座(1)的顶部与伸缩杆(2)的底部固定连接,伸缩杆(2)的顶部与展示箱(3)的底部固定连接,展示箱(3)内壁的一端与第一电机(4)的底部固定连接,第一电机(4)的输出端与第一螺杆(5)的一端固定连接,第一螺杆(5)的外表面与第一连杆(6)的一端螺纹连接,第一连杆(6)的另一端与伸缩装置(7)的一端固定连接,展示箱(3)内壁的另一端与第二电机(8)的底部固定连接,第二电机(8)的输出端与第二螺杆(9)的一端固定连接;

展示箱(3)的一端固定安装有显示屏(11),展示箱(3)的另一端固定安装有书写板(14),展示箱(3)的另一侧固定安装有卡片放置板(15),且展示箱(3)在靠近卡片放置板(15)的底部固定安装有卡片储存箱(16)。

2.根据权利要求1所述的一种英语教学用趣味卡片展示装置,其特征在于:所述展示箱(3)的一端开设有通槽(17),且通槽(17)的数量为三个,通槽(17)的尺寸与伸缩装置(7)的尺寸相适配。

3.根据权利要求1所述的一种英语教学用趣味卡片展示装置,其特征在于:所述伸缩装置(7)的一侧固定安装有压板(18),且压板(18)在靠近伸缩装置(7)的一侧与防护棉(19)的一侧固定连接,且伸缩装置(7)的数量为四个。

4.根据权利要求1所述的一种英语教学用趣味卡片展示装置,其特征在于:所述第二螺杆(9)的外表面与第二连杆(10)的一端螺纹连接,第二连杆(10)的另一端与伸缩装置(7)的一侧固定连接。

5.根据权利要求1所述的一种英语教学用趣味卡片展示装置,其特征在于:所述显示屏(11)的底部通过线路管(12)与扩音装置(13)的一端固定连接,且显示屏(11)的尺寸与展示箱(3)的尺寸相适配。

6.根据权利要求1所述的一种英语教学用趣味卡片展示装置,其特征在于:所述卡片放置板(15)的一端固定安装有透明玻璃(20),且卡片放置板(15)的数量为九个,且卡片储存箱(16)的数量也为九个,九个卡片储存箱(16)与九个卡片放置板(15)一一对应。