欢迎来到知嘟嘟! 联系电话:13336804447 卖家免费入驻,海量在线求购! 卖家免费入驻,海量在线求购!
知嘟嘟
我要发布
联系电话:13336804447
知嘟嘟经纪人
收藏
专利号: 2018109955904
申请人: 萧县木伟信息科技有限公司
专利类型:发明专利
专利状态:已下证
专利领域: 教育;密码术;显示;广告;印鉴
更新日期:2024-02-23
缴费截止日期: 暂无
价格&联系人
年费信息
委托购买

摘要:

权利要求书:

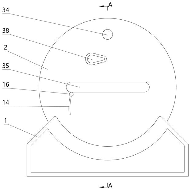
1.一种英语单词趣味学习装置,包括底座(1)和安装于底座(1)上的圆盘形的壳体(2),其特征在于,所述的壳体(2)上有与壳体(2)同轴转动的环形转盘(3),环形转盘(3)上有圆周分布的多个轴向设置的通孔(4),通孔(4)内有多个并列设置的字母牌(5),字母牌(5)可在通孔(4)内轴向滑动;所述的壳体(2)上有置于环形转盘(3)端面外侧并与字母牌(5)匹配的弯槽(6),弯槽(6)由水平滑槽(601)和置于水平滑槽(601)上方的倾斜直槽(602)经相近端连接构成;壳体(2)上有置于转盘(3)端面外侧的转臂(7),转臂(7)的一端与壳体(2)轴向铰接,转臂(7)的另一端有轴向设置的贯穿孔(8),贯穿孔(8)与任一通孔(4)同轴设置且贯穿孔(8)的直径小于字母牌(5)的外径;所述的壳体(2)上有与转臂(7)匹配的转动限位槽(9),转动限位槽(9)与倾斜直槽(602)的上端相连通;所述的壳体(2)上有置于水平滑槽(601)下方的两个水平并列的第一皮带轮(10)和置于两个第一皮带轮(10)之间的第二皮带轮(11),两个第一皮带轮(10)和所述第二皮带轮(11)经传送带(12)传动连接,以两个第一皮带轮(10)之间的传送带(12)的上端面作为水平滑槽(601)的下端面;所述任一第一皮带轮(10)与壳体(2)之间经轮轴(13)和与轮轴(13)匹配的弧形滑槽(14)滑动铰接;所述的壳体(2)上有与三个皮带轮相匹配的容置腔(15),容置腔(15)与水平滑槽(601)相连通;所述的轮轴(13)上有置于壳体(2)外部的锁紧螺母(16);所述的壳体(2)上有连通壳体(2)外部与容置腔(15)的倾斜设置的出口槽(17),出口槽(17)置于靠近轮轴(13)的一侧,出口槽(17)内有挡臂(18),挡臂(18)的一端与壳体(2)经扭簧弹性铰接,挡臂(18)的另一端置于容置腔(15)内并置于轮轴(13)的下方,在扭簧的扭力作用下,挡臂(18)向轮轴(13)方向转动使挡臂(18)在出口槽(17)内倾斜。

2.根据权利要求1所述的一种英语单词趣味学习装置,其特征在于,转臂(7)与壳体(2)经平行于壳体(2)轴线方向的转轴(19)铰接,壳体(2)上有与转轴(19)同轴匹配的滑移槽(20),转轴(19)的一端置于滑移槽(20)内,转轴(19)的另一端置于壳体(2)外部,构成转轴(19)在滑移槽(20)内轴向滑动的结构;所述的转臂(7)上有沿转轴(19)的轴线螺旋设置的凸轮槽(21),转轴(19)上有与凸轮槽(21)匹配的凸轮推杆(22),凸轮推杆(22)置于凸轮槽(21)内;所述的转轴(19)的置于滑移槽(20)内的一端开设有与转轴(19)同轴设置的花键槽(23),壳体(2)上有置于滑移槽(20)内并与花键槽(23)匹配的花键(24),当转轴(19)向滑移槽(20)内滑动时,花键(24)插入花键槽(23)内使转轴(19)无法转动;所述的滑移槽(20)内有套设于花键(24)外围的第一弹簧(25),第一弹簧(25)的一端与壳体(2)接触,第一弹簧(25)的另一端与转轴(19)接触。

3.根据权利要求1所述的一种英语单词趣味学习装置,其特征在于,转臂(7)与壳体(2)经平行于壳体(2)轴线方向的转轴(19)铰接,壳体(2)上有与转轴(19)同轴匹配的滑移槽(20),转轴(19)的一端置于滑移槽(20)内,转轴(19)的另一端置于壳体(2)外部;所述的环形转盘(3)上有内齿圈(26),壳体(2)上有与内齿圈(26)相啮合的第一齿轮(27),第一齿轮(27)与转轴(19)同轴滑动连接,所述第二皮带轮(11)与第一齿轮(27)经齿轮副传动连接。

4.根据权利要求2或3任任一所述的一种英语单词趣味学习装置,其特征在于,转轴(19)上有置于壳体(2)内的凸缘(28),转轴(19)上同轴套装有置于转轴(19)和转臂(7)之间的推进环(29),转臂(7)上有沿转轴(19)的轴线螺旋设置的凸轮槽(21),推进环(29)上有与凸轮槽(21)匹配的凸轮推杆(22),凸轮推杆(22)置于凸轮槽(21)内,所述的转轴(19)上套装有置于凸缘(28)与推进环(29)之间的摩擦片(30),转轴(19)上套装有置于推进环(29)另一侧的第二弹簧(31),第二弹簧(31)的一端与壳体(2)接触,第二弹簧(31)的另一端与推进环(29)接触,在第二弹簧(31)的弹力作用下,推进环(29)向凸缘(28)方向滑动并与壳体(2)挤压接触。

5.根据权利要求1所述的一种英语单词趣味学习装置,其特征在于,通孔(4)内依次有字母牌(5)、第三弹簧(32)和堵头(33),字母牌(5)在第三弹簧(32)的弹力作用下向弯槽(6)方向滑动。

6.根据权利要求1所述的一种英语单词趣味学习装置,其特征在于,字母牌(5)包括环状外圈(501),环状外圈(501)内侧有与环状外圈(501)同轴转动的偏心陀(502),偏心陀(502)的两个端面分别安装有贴片(503),贴片(503)上有英文字母。

7.根据权利要求1所述的一种英语单词趣味学习装置,其特征在于,壳体(2)由前盘(201)和后盖(202)经螺栓紧固构成。

8.根据权利要求1所述的一种英语单词趣味学习装置,其特征在于,壳体(2)上有与贯穿孔(8)位置对应的观察窗,观察窗内嵌入有透明材质的第一挡片(34);壳体(2)上有与水平滑槽(601)位置对应的阅读窗,阅读窗内嵌入有透明材质的第二挡片(35);所述的环形转盘(3)上有径向连通通孔(4)与环形转盘(3)外部的字母牌进口(36),壳体(2)上有与贯穿孔(8)对应并与字母牌进口(36)相匹配的插孔(37)。

9.根据权利要求2或3任一所述的一种英语单词趣味学习装置,其特征在于,转轴(19)的置于壳体(2)外部的一端装有手柄(38)。

10.根据权利要求2所述的一种英语单词趣味学习装置,其特征在于,第一弹簧(25)的一端与壳体(2)接触,第一弹簧(25)的另一端与转轴(19)经垫片(39)接触。