欢迎来到知嘟嘟! 联系电话:13336804447 卖家免费入驻,海量在线求购! 卖家免费入驻,海量在线求购!
知嘟嘟
我要发布
联系电话:13336804447
知嘟嘟经纪人
收藏
专利号: 2019213842862
申请人: 晋江泥匠玩具有限公司
专利类型:实用新型
专利状态:已下证
专利领域: 教育;密码术;显示;广告;印鉴
更新日期:2024-02-26
缴费截止日期: 暂无
价格&联系人
年费信息
委托购买

摘要:

权利要求书:

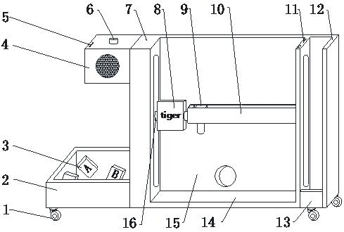
1.一种趣味英语认知教具,包括底板(14)、移动块(20)、旋转板(8)以及连杆(16),其特征在于:所述底板(14)中轴线左侧安装有电机安装盒(7),所述电机安装盒(7)左侧安装有收纳盒(2),所述收纳盒(2)内放置有字母块(3),所述电机安装盒(7)内安装有电机(22),所述电机(22)的输出轴通过联轴器(21)与丝杆(19)转动连接,所述移动块(20)上端面开设螺孔,所述丝杆(19)与开设在移动块(20)上端面的螺孔相啮合,所述电机安装盒(7)右侧开设回型通孔,所述连杆(16)贯穿回型通孔并与移动块(20)固定连接,所述旋转板(8)侧面开设有通孔,所述旋转板(8)与连杆(16)转动连接,所述连杆(16)右侧与连接板(10)固定连接,所述连接板(10)内部开设有滑动槽,开设在连接板(10)内的滑动槽与滑动块(9)滑动连接,所述连接板(10)右侧对称安装有凸块(17),所述底板(14)中轴线右侧安装有第一侧板(11),所述第一侧板(11)一侧开设有燕尾槽,所述凸块(17)与燕尾槽滑动连接,开设两条燕尾槽的第一侧板(11)中间开设有回型通孔,所述底板(14)右侧安装有第二侧板(12)且第二侧板(12)位于第一侧板(11)的右侧,所述第一侧板(11)与第二侧板(12)之间安装有挡板(13)且挡板(13)与底板下端面相贴合,所述底板(14)后端面安装有背板(15),所述背板(15)下方开设有圆形通孔,所述背板(15)后端面安装有奖励盒(18),开设在背板(15)上的通孔与奖励盒(18)相贯通,所述底板(14)下端面四角位置安装有万向轮(1)。

2.根据权利要求1所述的一种趣味英语认知教具,其特征在于:所述字母块(3)背面贴合一层磁铁,所述连接板(10)表面贴合一层磁铁,所述字母块(3)背面的磁铁与连接板(10)表面的磁铁相吸附。

3.根据权利要求1所述的一种趣味英语认知教具,其特征在于:磁性卡片(23)有两种类型,一种表面印刷有动物图案,另一种表面印刷有对应动物的英文单词,旋转板(8)正反面贴合一层磁铁,所述磁性卡片(23)通过磁铁吸附在旋转板(8)正反面上。

4.根据权利要求1所述的一种趣味英语认知教具,其特征在于:外部电源电线穿过电机安装盒(7)与电机(22)相连接,电机控制开关安装在电机安装盒(7)背面。

5.根据权利要求1所述的一种趣味英语认知教具,其特征在于:所述电机安装盒(7)左侧安装有播放器(4),所述播放器(4)表面开设有SD卡槽(5)且安装有开关按钮(6),所述播放器(4)与外部电源相连接。

6.根据权利要求1所述的一种趣味英语认知教具,其特征在于:开设在背板(15)上的通孔套装有防护垫,所述防护垫使用硅胶材质制成。