欢迎来到知嘟嘟! 联系电话:13336804447 卖家免费入驻,海量在线求购! 卖家免费入驻,海量在线求购!
知嘟嘟
我要发布
联系电话:13336804447
知嘟嘟经纪人
收藏
专利号: 2021216011228
申请人: 龙志初
专利类型:实用新型
专利状态:已下证
专利领域: 一般的物理或化学的方法或装置
更新日期:2024-02-23
缴费截止日期: 暂无
价格&联系人
年费信息
委托购买

摘要:

权利要求书:

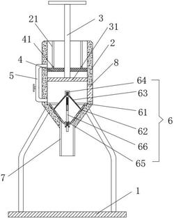
1.一种便于清理的润滑油过滤装置,包括过滤斗(2)、加压杆(3)和过滤组件(6),其特征在于:

所述过滤斗(2)的底部固定连接有底座(1),所述过滤斗(2)的内壁设有隔板(4),所述过滤斗(2)通过隔板(4)分为上下两个空腔,上空腔和下空腔分别为蓄油腔和过滤腔,所述过滤斗(2)靠近蓄油腔的底部和靠近过滤腔的底部通过导液管(5)相连通,所述导液管(5)的表面设有控制阀,所述过滤斗(2)的表面镶嵌有钢化玻璃制成的观测窗(8),所述观测窗(8)位于过滤腔的内壁;

所述加压杆(3)的底部垂直向下活动贯穿隔板(4)的顶部中央并螺纹连接有加压板(31);

所述过滤组件(6)安装在过滤斗(2)内壁的底部。

2.根据权利要求1所述的一种便于清理的润滑油过滤装置,其特征在于:所述过滤斗(2)的上半部为空心圆柱体,所述过滤斗(2)的下半部为空心圆锥体,所述过滤斗(2)的底部连通有出料管(7)。

3.根据权利要求1所述的一种便于清理的润滑油过滤装置,其特征在于:所述过滤斗(2)的内壁竖直向下开设有限位槽(21),所述加压板(31)的表面固定连接有限位槽(21)相适配的契合块(41)。

4.根据权利要求1所述的一种便于清理的润滑油过滤装置,其特征在于:所述过滤组件(6)包括有第一过滤网布(62)、第二过滤网布(63)和伸缩杆(66),所述第一过滤网布(62)和第二过滤网布(63)的中央分别固定贯穿有与伸缩杆(66)相适配的螺纹管(65)和对接盖(64),所述第二过滤网布(63)的边沿与第一过滤网布(62)靠近边沿三分之一处的上表面固定连接。

5.根据权利要求4所述的一种便于清理的润滑油过滤装置,其特征在于:所述第一过滤网布(62)的边沿固定连接有限位环(61),所述过滤斗(2)中空形圆柱体底部设有用于限位环(61)贴合的凹槽,所述第一过滤网布(62)呈圆锥形后与空心圆椎体的内壁相适配。

6.根据权利要求4所述的一种便于清理的润滑油过滤装置,其特征在于:所述伸缩杆(66)包括有第一固定杆(661),所述第一固定杆(661)的一端固定连接有限位杆(662),所述限位杆(662)的表面套接有第二固定杆(665)。

7.根据权利要求6所述的一种便于清理的润滑油过滤装置,其特征在于:所述第二固定杆(665)靠近限位杆(662)的一端开设有对接孔(664),所述对接孔(664)的内壁固定连接有弹簧(663),所述弹簧(663)的另一端与限位杆(662)远离第一固定杆(661)的一端固定连接。

8.根据权利要求6所述的一种便于清理的润滑油过滤装置,其特征在于:所述第一固定杆(661)的表面和第二固定杆(665)的表面分别设有与螺纹管(65)和对接盖(64)相适配的螺纹。

我要求购
我不想找了,帮我找吧
您有专利需要变现?
我要出售
智能匹配需求,快速出售