欢迎来到知嘟嘟! 联系电话:13336804447 卖家免费入驻,海量在线求购! 卖家免费入驻,海量在线求购!
知嘟嘟
我要发布
联系电话:13336804447
知嘟嘟经纪人
收藏
专利号: 2022214008600
申请人: 武汉中原万城石油化工有限公司
专利类型:实用新型
专利状态:已下证
专利领域: 一般的物理或化学的方法或装置
更新日期:2024-01-05
缴费截止日期: 暂无
价格&联系人
年费信息
委托购买

摘要:

权利要求书:

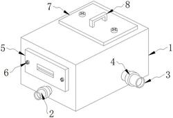
1.一种润滑油过滤循环装置,包括过滤循环装置本体,其特征在于:所述过滤循环装置本体包括箱体(1),所述箱体(1)的一侧安装有进油管(2),所述箱体(1)的另一侧安装有排油管(3),所述排油管(3)和进油管(2)处均安装有控制阀(4),所述箱体(1)上安装有收集组件(5),所述收集组件(5)包括收集箱(9),所述收集箱(9)上安装有密封板(10),所述收集箱(9)的底部安装有弧形挡板(11),所述弧形挡板(11)与密封板(10)相配合,所述箱体(1)的顶部安装有清理组件(7)。

2.根据权利要求1所述的一种润滑油过滤循环装置,其特征在于:所述清理组件(7)和收集组件(5)均通过固定螺栓(6)安装在箱体(1)上,所述收集组件(5)和清理组件(7)上均固定有把手(8)。

3.根据权利要求1所述的一种润滑油过滤循环装置,其特征在于:所述清理组件(7)包括支撑杆(18),所述支撑杆(18)固定在清理组件(7)的内壁上,所述支撑杆(18)的一端固定有直角架(16),所述直角架(16)上开有开孔。

4.根据权利要求3所述的一种润滑油过滤循环装置,其特征在于:所述直角架(16)安装在排油管(3)的顶部,所述直角架(16)的一端安装有缓冲板(17)。

5.根据权利要求1所述的一种润滑油过滤循环装置,其特征在于:所述箱体(1)的内部固定有弧形架(12),所述弧形架(12)上安装有第一过滤机构(13),所述第一过滤机构(13)的一侧安装有通孔(14)。

6.根据权利要求5所述的一种润滑油过滤循环装置,其特征在于:所述进油管(2)的一端安装有扇形管(19),所述扇形管(19)的高度与进油管(2)的直径相同,所述扇形管(19)与弧形架(12)相配合。

7.根据权利要求1所述的一种润滑油过滤循环装置,其特征在于:所述收集箱(9)的底部安装有第二过滤机构(20),所述收集组件(5)和清理组件(7)与箱体(1)之间安装有密封垫。

8.根据权利要求4所述的一种润滑油过滤循环装置,其特征在于:所述箱体(1)的内部固定有斜板(15),所述斜板(15)与缓冲板(17)的一端相配合。

我要求购
我不想找了,帮我找吧
您有专利需要变现?
我要出售
智能匹配需求,快速出售