欢迎来到知嘟嘟! 联系电话:13336804447 卖家免费入驻,海量在线求购! 卖家免费入驻,海量在线求购!
知嘟嘟
我要发布
联系电话:13336804447
知嘟嘟经纪人
收藏
专利号: 2023216499052
专利类型:实用新型
专利状态:未下证
专利领域: 暂无
更新日期:2024-02-26
缴费截止日期: 暂无
价格&联系人
年费信息
委托购买

摘要:

权利要求书:

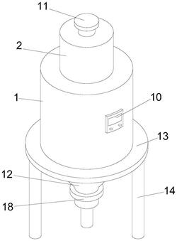
1.一种润滑油生产过滤装置,包括过滤罐(1),其特征在于:所述过滤罐(1)的顶部固定连接有处理罐(2),所述处理罐(2)的内壁固定连接有电加热管(3),所述处理罐(2)内腔的下端设置有电动推杆(4),所述电动推杆(4)的输出端固定连接有翻动盘(5),所述处理罐(2)的底部连通有排放管(6),所述排放管(6)的底部延伸至过滤罐(1)的内腔,并与过滤罐(1)的内腔连通,所述过滤罐(1)的内腔设置有滤筒(7),所述过滤罐(1)内腔的下端设置有防护箱(8),所述防护箱(8)内腔的底部固定连接有电机(9),所述电机(9)的输出轴与滤筒(7)传动连接,所述过滤罐(1)的正面固定连接有PLC控制器(10)。

2.如权利要求1所述润滑油生产过滤装置,其特征在于:所述处理罐(2)的顶部连通有进油管(11),且进油管(11)的顶部活动连接有密封盖。

3.如权利要求1所述润滑油生产过滤装置,其特征在于:所述过滤罐(1)的底部连通有排油管(12),所述排油管(12)的表面连通有第二电磁阀(18),所述排放管(6)的表面连通有第一电磁阀(17),所述PLC控制器(10)的输出端分别与第一电磁阀(17)和第二电磁阀(18)的输入端电性连接。

4.如权利要求1所述润滑油生产过滤装置,其特征在于:所述过滤罐(1)的表面固定连接有连接环(13),所述连接环(13)的底部固定连接有支撑柱(14)。

5.如权利要求1所述润滑油生产过滤装置,其特征在于:所述处理罐(2)内腔的下端固定连接有稳定架(15),所述稳定架(15)的顶部与电动推杆(4)固定连接,所述稳定架(15)的表面固定连接有连杆,且连杆的另一端与处理罐(2)的内壁固定连接。

6.如权利要求1所述润滑油生产过滤装置,其特征在于:所述防护箱(8)的表面固定连接有支撑杆(16),且支撑杆(16)远离防护箱(8)的一端与过滤罐(1)的内壁固定连接,支撑杆(16)与过滤罐(1)的内壁固定。

7.如权利要求1所述润滑油生产过滤装置,其特征在于:所述PLC控制器(10)输出端与电机(9)的输入端电性连接,所述电加热管(3)和电动推杆(4)的输入端与PLC控制器(10)的输出端电性连接。