欢迎来到知嘟嘟! 联系电话:13336804447 卖家免费入驻,海量在线求购! 卖家免费入驻,海量在线求购!
知嘟嘟
我要发布
联系电话:13336804447
知嘟嘟经纪人
收藏
专利号: 2021203011751
申请人: 河南凯沃过滤器有限公司
专利类型:实用新型
专利状态:已下证
专利领域: 一般的物理或化学的方法或装置
更新日期:2024-03-14
缴费截止日期: 暂无
价格&联系人
年费信息
委托购买

摘要:

权利要求书:

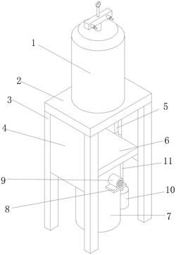
1.一种用于压缩机油过滤器的余油回收装置,包括过滤器(1),过滤器(1)的底部设置有底板(2),底板(2)的底面固定连接有四个支架(3),四个支架(3)分别固定连接在底板(2)底面的四角处,四个支架(3)分为前后两组,每组两个支架(3)的相对面上均固定连接有固定板(4),其特征在于:两个所述固定板(4)的相对面上均开设有滑槽(5),底板(2)的底部设置有移动板(6),移动板(6)与两个固定板(4)滑动连接,底板(2)的底面开设有连接孔(12),移动板(6)的顶部设置有余油收集对接装置,移动板(6)的底部设置有余油收集装置。

2.根据权利要求1所述的一种用于压缩机油过滤器的余油回收装置,其特征在于:所述移动板(6)的底部设置有电机(10),电机(10)的输出端固定连接有螺纹杆(11),螺纹杆(11)的上端贯穿后侧的固定板(4)进入后侧的滑槽(5)的内部,螺纹杆(11)转动连接在后侧滑槽(5)的内部。

3.根据权利要求1所述的一种用于压缩机油过滤器的余油回收装置,其特征在于:所述余油收集对接装置包括连接管(14),连接管(14)固定连接在移动板(6)的顶部,连接管(14)的下端贯穿移动板(6),连接管(14)的内壁开有螺纹槽(15),连接管(14)的顶部设置有输送管(16),输送管(16)的外壁上开设有与螺纹槽(15)相适配的螺纹(18),输送管(16)通过螺纹(18)与输送管(16)螺纹连接,输送管(16)与连接管(14)相通,输送管(16)的顶部固定连接有橡胶塞(17),输送管(16)与橡胶塞(17)的内部相通。

4.根据权利要求1所述的一种用于压缩机油过滤器的余油回收装置,其特征在于:所述移动板(6)的后表面固定连接有螺纹套(13),螺纹套(13)螺纹套接在螺纹杆(11)上,螺纹套(13)与后侧的滑槽(5)滑动连接,移动板(6)的前表面固定连接有滑块(8),滑块(8)与前侧的滑槽(5)滑动连接。

5.根据权利要求1所述的一种用于压缩机油过滤器的余油回收装置,其特征在于:所述余油收集装置包括集油瓶(7),集油瓶(7)设置在移动板(6)的底部,集油瓶(7)的顶部固定连接有固定管(19),固定管(19)与集油瓶(7)的内部相通,固定管(19)的外壁上同样开设有螺纹(18),固定管(19)通过螺纹(18)与连接管(14)螺纹连接,连接管(14)与固定管(19)的内部相通,集油瓶(7)的右侧固定连接有负压风机(9)。

6.根据权利要求5所述的一种用于压缩机油过滤器的余油回收装置,其特征在于:所述负压风机(9)的负压端延伸至集油瓶(7)的内部,负压风机(9)的负压端固定连接有连接板(20),连接板(20)的顶部固定连接有风阻板(21),风阻板(21)的形状为“S”型,风阻板(21)的顶部同样固定连接有连接板(20)。