欢迎来到知嘟嘟! 联系电话:13336804447 卖家免费入驻,海量在线求购! 卖家免费入驻,海量在线求购!
知嘟嘟
我要发布
联系电话:13336804447
知嘟嘟经纪人
收藏
专利号: 2019214247915
申请人: 魏业懋
专利类型:实用新型
专利状态:已下证
专利领域: 一般的物理或化学的方法或装置
更新日期:2024-02-23
缴费截止日期: 暂无
价格&联系人
年费信息
委托购买

摘要:

权利要求书:

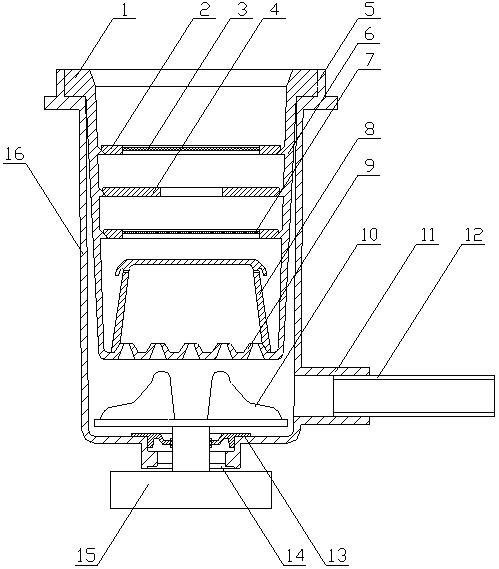
1.一种淬火油回油过滤装置,其特征是:由进油管、固定板、一号过滤网、限流板、固定套、内过滤筒、二号过滤网、沉淀芯、锥形通孔、叶轮、出油管、连接管、支撑套、轴承、电机、固定筒体、斜挡板和溢流孔组成,固定套置于固定筒体顶端,所述固定套内侧壁上置有螺纹,内过滤筒置于固定筒体内,进油管置于内过滤筒顶端,且和固定套相螺接,沉淀芯置于内过滤筒底部,且位于内过滤筒内,所述沉淀芯和内过滤筒内侧壁之间置有一段距离,所述沉淀芯的顶端侧边缘置有斜挡板,所述沉淀芯上等距开有多个溢流孔,且呈环形分布,所述溢流孔位于斜挡板内侧,所述内过滤筒底部开有多个锥形通孔,所述锥形通孔连通固定筒体内部和沉淀芯内部,所述锥形通孔的直径从上向下逐渐增加,两个固定板分别置于内过滤筒内,且一上一下,所述固定板位于沉淀芯的上方,所述固定板和内过滤筒内侧壁相卡接,一号过滤网置于上方的固定板上,二号过滤网置于下方的固定板上,所述二号过滤网的网孔孔径小于一号过滤网的网孔孔径,限流板置于内过滤筒内,且位于两个固定板之间,所述限流板和内过滤筒内侧壁相卡接,所述限流板中部开有连通孔,出油管一端置于固定筒体侧壁上,且和固定筒体内部相连通,所述出油管位于内过滤筒的下方,连接管一端和出油管一端相套接,连接套置于固定筒体底部,且和固定筒体内部相连通,电机置于连接套的下方,所述电机的电机轴一端穿过连接套置于固定筒体内,所述电机轴和连接套之间置有轴承,支撑套套置于电机轴上,所述支撑套和电机轴之间置有密封套,所述支撑套外侧可转动的卡置于固定筒体底部,叶轮置于电机轴一端上,且位于固定筒体底部和内过滤筒底部之间。

2.根据权利要求1所述的一种淬火油回油过滤装置,其特征在于所述沉淀芯上的溢流孔为多组,且呈环形分布的溢流孔为一组,所述斜挡板上置有第三过滤网,且第三过滤网和沉淀芯外侧壁相连接。

3.根据权利要求1或2所述的一种淬火油回油过滤装置,其特征在于所述沉淀芯的直径从下向上逐渐减小。

4.根据权利要求1所述的一种淬火油回油过滤装置,其特征在于所述固定筒体上置有透明板,所述内过滤筒上置有透明板,且和固定筒体上的透明板相对应。

5.根据权利要求1所述的一种淬火油回油过滤装置,其特征在于所述内过滤筒的直径从上向下逐渐减小。