欢迎来到知嘟嘟! 联系电话:13336804447 卖家免费入驻,海量在线求购! 卖家免费入驻,海量在线求购!
知嘟嘟
我要发布
联系电话:13336804447
知嘟嘟经纪人
收藏
专利号: 2024222091204
专利类型:实用新型
专利状态:未下证
专利领域: 暂无
更新日期:2025-07-09
缴费截止日期: 暂无
价格&联系人
年费信息
委托购买

摘要:

权利要求书:

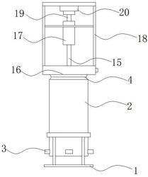
1.一种油脂过滤回收装置,包括基座(1),其特征在于:所述基座(1)内表面固定连接有主缸(2),主缸(2)内表面滑动连接有多用方口(3),多用方口(3)上表面固定连接有走水管道(5),走水管道(5)上表面固定连接有底盘(6),底盘(6)上表面固定连接有补漏柱(7),底盘(6)内表面滑动连接有按压柱(8),按压柱(8)外表面滑动连接有环境柱(9),按压柱(8)下表面固定连接有十字桩(10),十字桩(10)外表面滑动连接有活塞管(12),主缸(2)上表面固定连接有束油口(4),束油口(4)上表面固定连接有冷凝框(16),冷凝框(16)上表面固定连接有活动框架(18),活动框架(18)下表面固定连接有电机(20),电机(20)输出端固定连接有伸缩杆(19),伸缩杆(19)原来电机(20)一端外表面固定连接有螺纹杆(15),螺纹杆(15)外表面螺纹连接有动力套(17),螺纹杆(15)下表面固定连接有从动框(11),从动框(11)下表面固定连接有合页(14),合页(14)下表面固定连接有挤压盘(13)。

2.根据权利要求1所述的一种油脂过滤回收装置,其特征在于:所述基座(1)由方形板、圆形支柱和圆环组成,方形板上表面固定连接有圆形支柱,圆形支柱上表面固定连接有圆环,圆环内表面固定连接有主缸(2)。

3.根据权利要求1所述的一种油脂过滤回收装置,其特征在于:所述按压柱(8)由圆形锥体与圆形支柱组成,圆形锥体下表面固定连接有圆形支柱,圆形支柱外表面滑动连接有环境柱(9)。

4.根据权利要求1所述的一种油脂过滤回收装置,其特征在于:所述环境柱(9)为圆形柱体,圆形柱体外表面开设有长方形孔洞,孔洞内表面滑动连接有十字桩(10),圆形柱体上表面开设有圆柱形凹槽,凹槽内表面滑动连接有按压柱(8)。

5.根据权利要求1所述的一种油脂过滤回收装置,其特征在于:所述十字桩(10)由弹簧、十字形方块和四个长方块组成,十字形方块外表面滑动连接有环境柱(9),十字形方块下表面固定连接有弹簧,十字形方块下表面固定连接有长方块,长方块外表面滑动连接有活塞管(12)。

6.根据权利要求1所述的一种油脂过滤回收装置,其特征在于:所述活动框架(18)由方板、开孔方板和两个长方柱组成,长方柱组成下表面固定连接有冷凝框(16),长方柱外表面固定连接有开孔方板,开孔方板内表面固定连接动力套(17),长方柱上表面固定连接有方板,方板下表面固定连接有电机(20)。