欢迎来到知嘟嘟! 联系电话:13336804447 卖家免费入驻,海量在线求购! 卖家免费入驻,海量在线求购!
知嘟嘟
我要发布
联系电话:13336804447
知嘟嘟经纪人
收藏
专利号: 2021110033637
申请人: 浙江工业大学
专利类型:发明专利
专利状态:已下证
专利领域: 发电、变电或配电
更新日期:2023-12-11
缴费截止日期: 暂无
价格&联系人
年费信息
委托购买

摘要:

权利要求书:

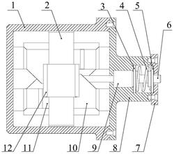
1.基于气隙补偿的盆形齿式高频直动力马达,其特征在于:包括衔铁部件、轭铁部件、复位弹簧部件、前端盖(7)、第一外壳(1)和第二外壳(8),所述衔铁部件包括第一衔铁(10)、第二衔铁(11)、推杆(6)和永磁体(13);所述第一衔铁(10)包括矩形面板,矩形面板长边的对角线上各伸出一个爪状极靴,矩形面板上且位于两个爪状极靴之间的轴线上设有一个菱形槽;永磁体(13)被径向充磁成N级和S极,所述第一衔铁(10)的矩形面板与永磁体(13)的N极面贴合,第一衔铁(10)的一对极靴被永磁体(13)磁化成N极端;所述第一衔铁(10)、第二衔铁(11)结构完全相同,反向相互扣合;所述第二衔铁(11)的矩形面板与永磁体(13)的S极面贴合,所述第二衔铁(11)的一对极靴被永磁体(13)磁化成S极端;所述第一衔铁(10)与第二衔铁(11)安装永磁体(13)后组成一个通孔,该通孔用于安装推杆(6);

所述第一衔铁(10)和第二衔铁(11)夹紧在推杆(6)后端,推杆(6)为一轴体,沿其长轴方向即为轴向,沿半径方向即为径向,沿圆周方向即为周向;所述第一衔铁(10)、第二衔铁(11)的菱形槽夹紧推杆(6)后端两轴肩之间的部分;推杆(6)的中间部分安装在第二外壳(8)上的直线轴承(9)内,推杆(6)的前端连接复位弹簧部件,所述推杆(6)后端从前端盖(7)露出的部分与伺服比例阀的阀芯直接连接;

所述轭铁部件包括轭铁架(2)和控制线圈(12),所述轭铁架(2)包括平行设置的第一臂(20)、第二臂(21),第一臂(20)、第二臂(21)中部的上端面之间跨设有连接桥路(22),连接桥路(22)高于第一臂(20)和第二臂(21)所在的平面,第一臂(20)和第二臂(21)端部的相对侧凸出,形成四个相互对称的轴向极靴,在轴向极靴边缘处设有盆形齿(23),盆形齿(23)的齿尖部位内凹、齿根部位外凸,盆形齿竖直形成径向极靴;所述控制线圈(12)缠绕在连接桥路(22)上,控制线圈(12)在空间中沿着轭铁架(2)的空间结构到四个轴向极靴的路径完全对称且相等;

所述衔铁部件安装在轭铁架(2)四个轴向极靴及四个径向极靴构成的内部空间内,第一衔铁(10)的一对爪状极靴分别与轭铁架(2)的左端的上极靴、右端的下极靴组成第一工作气隙(δ1)、第四工作气隙(δ4),第二衔铁(11)的一对爪状极靴分别与轭铁架(2)的左端的下极靴、右端的上极靴组成第二工作气隙(δ2)、第三工作气隙(δ3),所述第一工作气隙(δ1)、第二工作气隙(δ2)、第三工作气隙(δ3)、第四工作气隙(δ4)在未通电的情况下,大小完全相等;所述衔铁部件的四个径向极靴与所述轭铁部件的爪状极靴侧面对应形成径向气隙(δ′1、δ′2、δ′3、δ′4),该径向气隙在衔铁部件轴向运动时大小恒定不变;在未通电的情况下,永磁铁励磁磁通一部分从主气隙通过一部分从径向气隙通过,且上下对称,而形成特殊改进磁路;所述轭铁架(2)安装在第一外壳(1)的方形开口槽内。

2.如权利要求1所述的基于气隙补偿的盆形齿式高频直动力马达,其特征在于:所述复位弹簧部件包括复位弹簧(4)、第一弹簧底座(3)、第二弹簧底座(5)和第二弹簧底座限位环;所述第一弹簧底座(3)安装在第二外壳(8)的前端,所述第二弹簧底座(5)安装在前端盖(7)后端的环形凹槽内,所述第二弹簧底座限位环安装在第二弹簧底座(5)的后端,所述复位弹簧(4)的后端安装在第一弹簧底座(3),所述复位弹簧(4)的前端安装在第二弹簧底座(5),所述第一弹簧底座(3)和所述第二弹簧底(5)座除了被第二外壳(8)和前端盖(7)限制,也被推杆(6)在第二外壳(8)部位内的两轴肩限制;所述第一外壳(1)前端开口与所述第二外壳(8)后端密封连接,所述前端盖(7)的后端与所述第二外壳(8)的前端密封连接。

3.如权利要求1所述的基于气隙补偿的盆形齿式高频直动力马达,其特征在于:所述前端盖(7)、推杆(6)、第一弹簧底座(3)、第二弹簧底座(5)、第一外壳(1)和第二外壳(8)均为不导磁材料制成的非导磁体;所述轭铁部件、第一衔铁(10)和第二衔铁(11)均为软磁材料制成的导磁体。