欢迎来到知嘟嘟! 联系电话:13336804447 卖家免费入驻,海量在线求购! 卖家免费入驻,海量在线求购!
知嘟嘟
我要发布
联系电话:13336804447
知嘟嘟经纪人
收藏
专利号: 2017104593071
申请人: 盐城市禾鼎机械股份有限公司
专利类型:发明专利
专利状态:已下证
专利领域: 工程元件或部件;为产生和保持机器或设备的有效运行的一般措施;一般绝热
更新日期:2024-02-23
缴费截止日期: 暂无
价格&联系人
年费信息
委托购买

摘要:

权利要求书:

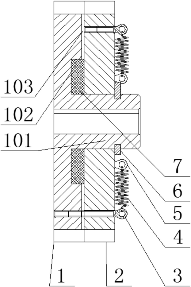
1.一种消隙直齿轮,包括齿轮本体(1)和齿轮(2),其特征在于:所述齿轮本体(1)右端设置有轮毂(101),所述轮毂(101)外部设置有凹槽(102),所述凹槽(102)外部设置有至少两个吸油槽(103),所述轮毂(101)上安装有齿轮(2),所述齿轮(2)通过卡在齿轮本体(1)右端的轮毂(101)上的卡簧(6)固定,所述齿轮(2)右侧设置有拉力弹簧(4),所述拉力弹簧(4)一端连接在齿轮本体吊环螺丝(3)上,且拉力弹簧(4)的另一端连接在齿轮吊环螺丝(5)上,所述齿轮本体吊环螺丝(3)安装在齿轮本体(1)上,所述齿轮吊环螺丝(5)安装在齿轮(2)上。

2.根据权利要求1所述的一种消隙直齿轮,其特征在于:所述吸油槽(103)为深1mm的喇叭形状,且靠近齿的一端开口大。

3.根据权利要求1所述的一种消隙直齿轮,其特征在于:所述凹槽(102)的内部设置有吸油泡沫层(7)。

4.根据权利要求3所述的一种消隙直齿轮,其特征在于:所述吸油泡沫层(7)选用聚氨酯软泡沫。

5.根据权利要求1所述的一种消隙直齿轮,其特征在于:所述齿轮(2)上设置有方便齿轮本体吊环螺丝(3)安装的弧形腰孔。

6.根据权利要求1所述的一种消隙直齿轮,其特征在于:所述拉力弹簧(4)在圆周方向均匀设置有三组。