欢迎来到知嘟嘟! 联系电话:13336804447 卖家免费入驻,海量在线求购! 卖家免费入驻,海量在线求购!
知嘟嘟
我要发布
联系电话:13336804447
知嘟嘟经纪人
收藏
专利号: 2021106138227
申请人: 温州理工学院
专利类型:发明专利
专利状态:已下证
专利领域: 一般车辆
更新日期:2025-09-29
缴费截止日期: 暂无
价格&联系人
年费信息
委托购买

摘要:

权利要求书:

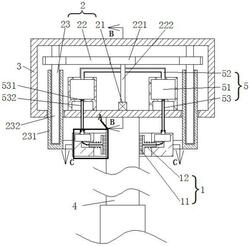
1.一种新能源汽车减震装置清洁设备,安装在汽车车轮的减震装置(4)上,其特征在于,包括清洁模块(1)、控制模块(2)以及安装在所述减震装置(4)上的壳体(3),所述控制模块(2)固定在所述壳体(3)内部,所述清洁模块(1)通过控制模块(2)悬挂设置在壳体(3)外;

所述控制模块(2)包括动力件(21)、传动件(22)以及运动件(23),所述动力件(21)固定在所述壳体(3)内靠近所述清洁模块(1)的底部,所述传动件(22)固定连接在所述动力件(21)一端,所述运动件(23)贯穿所述壳体(3)的底部,所述运动件(23)的末端固定所述清洁模块(1);

所述运动件(23)内至少包括移动壳(231)以及固定轴(232),所述固定轴(232)一端固定连接在远离动力件(21)的顶部,所述移动壳(231)另一端固定连接所述清洁模块(1),使所述清洁模块(1)悬挂连接在所述壳体(3)外,所述固定轴(232)外连接有所述传动件(22);

所述传动件(22)包括旋转装置(221)以及连接轴(222),所述旋转装置固定在两根所述固定轴(232)外部,所述旋转装置(221)通过所述连接轴(222)连接在所述动力件(21)远离所述清洁模块(1)的一端;

所述清洁模块(1)包括清洁件(11)、连接件(12),所述清洁件(11)环绕包覆在所述减震装置(4)外周,所述清洁件(11)设置在所述连接件(12)内;

所述清洁件(11)包括清洁块(111)、喷洒件(112),所述清洁块(111)接触在所述减震装置(4)外周,所述喷洒件(112)设置在所述清洁块(111)内,所述清洁块(111)的另一端滑动连接在所述连接件(12)内。

2.根据权利要求1中所述的一种新能源汽车减震装置清洁设备,其特征在于,所述连接件(12)包括弹力件(121)、连接装置(122)、固定块(123)以及储存块(124),所述弹力件(121)设置在所述固定块(123)以及清洁块(111)之间,所述储存块(124)设置在所述固定块(123)内,所述连接装置(122)连接在所述清洁块(111)以及以及所述储存块(124)之间,所述固定块(123)固定连接在所述移动壳(231)。

3.根据权利要求1中所述的一种新能源汽车减震装置清洁设备,其特征在于,所述壳体(3)内安装有靠近动力件(21)的储液装置(5)。

4.根据权利要求3中所述的一种新能源汽车减震装置清洁设备,其特征在于,所述储液装置(5)包括储液块(51)、补充块(52)以及排出块(53),所述储液块(51)固定在所述壳体(3)内,所述补充块(52)安装在所述储液块(51)远离所述减震装置(4)的一端,所述排出块(53)放置在所述储液块(51)靠近所述减震装置(4)的一端。

5.根据权利要求4中所述的一种新能源汽车减震装置清洁设备,其特征在于,所述补充块(52)连接到外界清洁液源。