欢迎来到知嘟嘟! 联系电话:13336804447 卖家免费入驻,海量在线求购! 卖家免费入驻,海量在线求购!
知嘟嘟
我要发布
联系电话:13336804447
知嘟嘟经纪人
收藏
专利号: 202122394447X
申请人: 陈红霞
专利类型:实用新型
专利状态:已下证
专利领域: 工程元件或部件;为产生和保持机器或设备的有效运行的一般措施;一般绝热
更新日期:2024-02-26
缴费截止日期: 暂无
价格&联系人
年费信息
委托购买

摘要:

权利要求书:

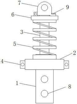
1.一种新能源汽车用减震器,包括主体柱(1),其特征在于:所述主体柱(1)的外壁连接有移动板(2),且主体柱(1)的内壁连接有减震柱(3),所述减震柱(3)的顶端连接有顶盖(6),所述顶盖(6)的顶端连接有吊耳(7),所述吊耳(7)的一侧连接有贯穿顶盖(6)外壁的螺栓(9),所述减震柱(3)的内壁设置有空腔(10),所述空腔(10)的顶端设置有贯穿顶盖(6)外壁的进油口(11),所述减震柱(3)的内壁设置有贯穿空腔(10)内壁的出油支路(12),所述主体柱(1)的外壁连接有移动板(2),所述移动板(2)的外壁设置有连接块(4),且移动板(2)的内壁设置有凸起(13),所述主体柱(1)的外壁与凸起(13)相接触的地方设置有多组凹槽(8),所述移动板(2)与顶盖(6)之间连接有弹簧(5),所述连接块(4)的内壁连接有连接杆(14)。

2.根据权利要求1所述的一种新能源汽车用减震器,其特征在于:所述吊耳(7)的一侧通过转轴与顶盖(6)的顶端连接,且顶盖(6)与螺栓(9)的外壁连接处设置有与其匹配的螺孔。

3.根据权利要求1所述的一种新能源汽车用减震器,其特征在于:所述进油口(11)位于吊耳(7)的内侧,且进油口(11)的外壁与吊耳(7)的内壁连接处设置有密封圈。

4.根据权利要求1所述的一种新能源汽车用减震器,其特征在于:所述出油支路(12)的一端贯穿减震柱(3)的外壁,且出油支路(12)的另一端贯穿空腔(10)的内壁。

5.根据权利要求1所述的一种新能源汽车用减震器,其特征在于:所述连接杆(14)的外壁设置有螺纹,且连接杆(14)的两端连接有与连接杆(14)外壁相匹配的螺母。

我要求购
我不想找了,帮我找吧
您有专利需要变现?
我要出售
智能匹配需求,快速出售