欢迎来到知嘟嘟! 联系电话:13336804447 卖家免费入驻,海量在线求购! 卖家免费入驻,海量在线求购!
知嘟嘟
我要发布
联系电话:13336804447
知嘟嘟经纪人
收藏
专利号: 2018113807110
申请人: 南通理工学院
专利类型:发明专利
专利状态:已下证
专利领域: 工程元件或部件;为产生和保持机器或设备的有效运行的一般措施;一般绝热
更新日期:2024-01-05
缴费截止日期: 暂无
价格&联系人
年费信息
委托购买

摘要:

权利要求书:

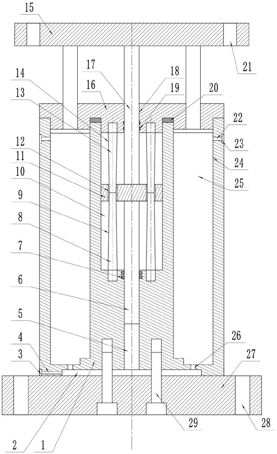
1.一种新能源汽车用减震器,其特征在于:包括壳体(1)、凹槽(2)、过滤网一(3)、呼吸孔一(4)、导孔一(5)、导柱一(6)、密封圈一(7)、轴体一(8)、锥面一(9)、油腔室(10)、活塞(11)、连通孔(12)、轴体二(13)、锥面二(14)、上连接座(15)、顶盖(16)、导柱二(17)、导孔二(18)、密封圈二(19)和密封垫(20);

所述壳体(1)底面中央设有凹槽(2);

所述凹槽(2)左侧通过呼吸孔一(4)与外部空气相连通;

所述呼吸孔一(4)左侧开口处中设有过滤网一(3);

所述导孔一(5)设在壳体(1)下侧中央内部,所述导孔一(5)下侧开口与凹槽(2)内部相连通,所述导孔一(5)上侧开口与油腔室(10)内部相连通,所述导孔一(5)中竖向活动连接有导柱一(6);

所述导柱一(6)顶部固定连接在活塞(11)底部中央,所述导柱一(6)外部与所述导孔一(5)内部之间设有密封圈一(7);

所述油腔室(10)设在壳体(1)上侧内部,所述油腔室(10)上侧边缘处与所述顶盖(16)底部之间设有密封垫(20);

所述活塞(11)竖向活动连接在油腔室(10)内部;

所述连通孔(12)为数个,所述连通孔(12)分别呈圆形排列均匀设在活塞(11)中;

所述轴体一(8)为数个,所述轴体一(8)分别位于对应的连通孔(12)中,所述轴体一(8)底部均固定连接在油腔室(10)内部底面中,所述轴体一(8)外部表面上设有锥面一(9);

所述轴体二(13)为数个,所述轴体二(13)分别位于对应的连通孔(12)中,所述轴体二(13)底部分别与对应的轴体一(8)顶部固定连接,所述轴体二(13)顶部均固定连接在顶盖(16)底面中;

所述顶盖(16)固定连接在壳体(1)上侧开口处,所述顶盖(16)中央内部设有导孔二(18);

所述导孔二(18)中竖向活动连接有导柱二(17);

所述导柱二(17)底部固定连接在活塞(11)顶部中央,所述导柱二(17)外部与所述导孔二(18)内部之间设有密封圈二(19),所述导柱二(17)顶部与上连接座(15)底部中央固定连接。

2.根据权利要求1所述的一种新能源汽车用减震器,其特征在于:还包括上安装孔(21)、呼吸孔二(22)、过滤网二(23)、内腔(24)、辅助减震装置(25)、连接孔(26)、下连接座(27)、下安装孔(28)和固定螺钉(29);

所述上安装孔(21)为数个,所述上安装孔(21)分别均匀设在上连接座(15)外侧边缘处中;

所述内腔(24)为数个,所述内腔(24)分别呈圆形排列均匀设在壳体(1)外侧中,所述内腔(24)底部均通过连接孔(26)与凹槽(2)内部相连通;

所述呼吸孔二(22)为数个,所述呼吸孔二(22)分别设在对应内腔(24)上侧外部中,所述呼吸孔二(22)外部开口处中均设有过滤网二(23);

所述辅助减震装置(25)为数个,所述辅助减震装置(25)分别固定连接在对应的内腔(24)内部,所述辅助减震装置(25)上侧伸缩端均固定连接在上连接座(15)底面上;

所述连接座(27)通过数个固定螺钉(29)固定连接在壳体(1)底部,所述连接座(27)外侧边缘处中均匀设有数个下安装孔(28)。

3.根据权利要求1所述的一种新能源汽车用减震器,其特征在于:所述密封圈一(7)和密封圈二(19)分别至少为两个。

4.根据权利要求1所述的一种新能源汽车用减震器,其特征在于:所述锥面一(9)为上小下大的锥面。

5.根据权利要求1所述的一种新能源汽车用减震器,其特征在于:所述锥面二(14)为上大下小的锥面。

6.根据权利要求1所述的一种新能源汽车用减震器,其特征在于:所述连通孔(12)的孔径等于轴体一(8)和轴体二(13)的最大直径。

7.根据权利要求2所述的一种新能源汽车用减震器,其特征在于:所述辅助减震装置(25)具体结构包括外壳(251)、弹簧一(252)、活塞(253)、伸缩轴(254)、端盖(255)、小孔一(256)、弹簧二(257)、活动块(258)、弹簧三(259)和小孔二(2510);

所述活塞(253)竖向活动连接在外壳(251)内部,所述活塞(253)顶部中央固定连接有伸缩轴(254);

所述端盖(255)固定连接在外壳(251)内部上侧开口处,所述端盖(255)底面与所述活塞(253)上侧之间设有弹簧二(257);

所述小孔一(256)设在外壳(251)右下侧中,所述小孔一(256)外部与对应的呼吸孔二(22)内部相连通;

所述活动块(258)位于活塞(253)下侧,所述活动块(258)竖向活动连接在外壳(251)内部,所述活动块(258)顶面与所述活塞(253)底面之间设有弹簧一(252),所述活动块(258)底面与所述外壳(251)内部底面之间设有弹簧三(259);

所述小孔二(2510)设在外壳(251)下侧中央中,所述小孔二(2510)内部与连接孔(26)内部相连通。

8.根据权利要求7所述的一种新能源汽车用减震器,其特征在于:所述弹簧一(252)的弹力小于弹簧三(259)的弹力。

我要求购
我不想找了,帮我找吧
您有专利需要变现?
我要出售
智能匹配需求,快速出售