欢迎来到知嘟嘟! 联系电话:13336804447 卖家免费入驻,海量在线求购! 卖家免费入驻,海量在线求购!
知嘟嘟
我要发布
联系电话:13336804447
知嘟嘟经纪人
收藏
专利号: 2021103987710
申请人: 南京市蓝业科技有限公司
专利类型:发明专利
专利状态:已下证
专利领域: 清洁
更新日期:2024-02-23
缴费截止日期: 暂无
价格&联系人
年费信息
委托购买

摘要:

权利要求书:

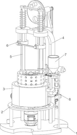
1.一种神经内科用手术器械清洗消毒设备,其特征在于,包括:底座(1),底座(1)上设有支撑台(2);

旋转机构(3),底座(1)上设有旋转机构(3);

传动机构(4),底座(1)上设有传动机构(4);

搅拌机构(5),传动机构(4)上设有搅拌机构(5),旋转机构(3)与搅拌机构(5)配合。

2.如权利要求1所述的一种神经内科用手术器械清洗消毒设备,其特征在于,旋转机构(3)包括:

电机(31),底座(1)上设有电机(31);

存储框(32),支撑台(2)上设有存储框(32);

第一环状楔形块(33),存储框(32)内转动式设有第一环状楔形块(33),第一环状楔形块(33)与电机(31)输出轴连接;

叶片(34),第一环状楔形块(33)上均匀设有多个叶片(34);

第一出水阀(35),存储框(32)上设有第一出水阀(35)。

3.如权利要求2所述的一种神经内科用手术器械清洗消毒设备,其特征在于,传动机构(4)包括:

第一支架(41),底座(1)上设有第一支架(41);

第一转轴(42),第一支架(41)上转动式设有第一转轴(42);

转盘(43),第一转轴(42)上设有转盘(43);

第二转轴(44),第一支架(41)上转动式设有第二转轴(44);

第一齿轮盘(45),第二转轴(44)上设有第一齿轮盘(45);

第三转轴(46),第一支架(41)上转动式设有第三转轴(46);

第一全齿轮(47),第三转轴(46)上设有第一全齿轮(47),第一全齿轮(47)与第一齿轮盘(45)啮合;

第二齿轮盘(48),第三转轴(46)上设有第二齿轮盘(48);

第四转轴(49),第一支架(41)上转动式设有第四转轴(49);

第二全齿轮(410),第四转轴(49)上设有第二全齿轮(410),第二全齿轮(410)与第二齿轮盘(48)啮合;

第五转轴(411),第一支架(41)上转动式设有第五转轴(411);

锥齿轮组(412),第五转轴(411)与第四转轴(49)之间设有锥齿轮组(412);

第一皮带组件(413),第五转轴(411)与电机(31)输出轴之间设有第一皮带组件(413);

第二皮带组件(414),第二转轴(44)与第一转轴(42)之间设有第二皮带组件(414)。

4.如权利要求3所述的一种神经内科用手术器械清洗消毒设备,其特征在于,搅拌机构(5)包括:

滑动轴(51),第一支架(41)上滑动式设有滑动轴(51),转盘(43)与滑动轴(51)配合;

第一压缩弹簧(52),滑动轴(51)与第一支架(41)之间对称式设有第一压缩弹簧(52);

承料框(53),滑动轴(51)上设有承料框(53);

清洗刷(54),承料框(53)中间转动式设有清洗刷(54);

第二环状楔形块(55),清洗刷(54)上设有第二环状楔形块(55),第二环状楔形块(55)与第一环状楔形块(33)配合。

5.如权利要求4所述的一种神经内科用手术器械清洗消毒设备,其特征在于,还包括卡紧机构(6),卡紧机构(6)包括:固定块(61),第一支架(41)上对称式设有固定块(61);

连接杆(62),固定块(61)之间滑动式设有连接杆(62),连接杆(62)与滑动轴(51)配合;

第二压缩弹簧(63),连接杆(62)与固定块(61)之间均设有第二压缩弹簧(63)。

6.如权利要求5所述的一种神经内科用手术器械清洗消毒设备,其特征在于,还包括调节机构(7),调节机构(7)包括:储水箱(71),存储框(32)上设有储水箱(71);

楔形杆(72),滑动轴(51)上设有楔形杆(72),楔形杆(72)在存储框(32)上滑动;

第二出水阀(73),储水箱(71)上设有第二出水阀(73);

滑动开关(74),第二出水阀(73)内滑动式设有滑动开关(74),滑动开关(74)与储水箱(71)滑动式连接;

第一旋转杆(75),滑动开关(74)上转动式设有第一旋转杆(75),第一旋转杆(75)与楔形杆(72)配合;

第三压缩弹簧(76),滑动开关(74)与第二出水阀(73)之间设有第三压缩弹簧(76)。

7.如权利要求6所述的一种神经内科用手术器械清洗消毒设备,其特征在于,还包括蓄水机构(8),蓄水机构(8)包括:第二支架(81),底座(1)上设有第二支架(81);

储水管(82),第二支架(81)与存储框(32)之间设有储水管(82);

转动阀(83),储水管(82)上转动式设有转动阀(83);

第二旋转杆(84),转动阀(83)上设有第二旋转杆(84),滑动开关(74)与第二旋转杆(84)配合;

拉杆(85),转动阀(83)上转动式设有拉杆(85),拉杆(85)与储水管(82)滑动式连接,拉杆(85)与楔形杆(72)配合;

卡块(86),储水管(82)上滑动式设有卡块(86),卡块(86)与转动阀(83)配合;

第四压缩弹簧(87),卡块(86)与储水管(82)之间设有第四压缩弹簧(87)。

8.如权利要求2所述的一种神经内科用手术器械清洗消毒设备,其特征在于,存储框(32)的形状为圆形。