欢迎来到知嘟嘟! 联系电话:13336804447 卖家免费入驻,海量在线求购! 卖家免费入驻,海量在线求购!
知嘟嘟
我要发布
联系电话:13336804447
知嘟嘟经纪人
收藏
专利号: 2024205605796
专利类型:实用新型
专利状态:未下证
专利领域: 暂无
更新日期:2025-03-17
缴费截止日期: 暂无
价格&联系人
年费信息
委托购买

摘要:

权利要求书:

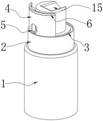
1.一种外伤创面清洁消毒装置,包括瓶体(1)、按压块(15)、螺纹槽(19)和螺杆(20),其特征在于:所述瓶体(1)的一端活动安装有连接块(2),且连接块(2)的一端固定安装有挡板(4),所述挡板(4)的一端活动安装有拉板(6),且拉板(6)的一端固定安装有滑杆(8),所述挡板(4)的一端开设有供滑杆(8)移动的滑槽(9),且滑杆(8)的一端固定安装有消毒棉(7),所述挡板(4)的一端开设有通孔(5),且挡板(4)的一端固定安装有连接板(14),所述连接板(14)的一端固定安装有按压块(15),且连接板(14)的内部设置有对按压块(15)进行复位的复位组件。

2.根据权利要求1所述的一种外伤创面清洁消毒装置,其特征在于:所述复位组件包括弹簧(13)、第二限位杆(16)和第二限位槽(17),所述连接板(14)的一端固定安装有第二限位杆(16),所述按压块(15)的内部开设有与第二限位杆(16)相匹配的第二限位槽(17),所述按压块(15)的一端固定安装有弹簧(13),且连接板(14)与按压块(15)之间通过弹簧(13)相连接。

3.根据权利要求2所述的一种外伤创面清洁消毒装置,其特征在于:所述拉板(6)的一端固定安装有第一限位杆(10),且挡板(4)的内部开设有与第一限位杆(10)相匹配的第一限位槽(11)。

4.根据权利要求3所述的一种外伤创面清洁消毒装置,其特征在于:所述挡板(4)的长度与宽度均大于消毒棉(7)长度与宽度,所述按压块(15)的一端固定安装有喷头(18)。

5.根据权利要求4所述的一种外伤创面清洁消毒装置,其特征在于:所述连接块(2)的端面开设有供挡板(4)进行移动的移动槽(3),所述按压块(15)的端面为圆弧状设置。

6.根据权利要求5所述的一种外伤创面清洁消毒装置,其特征在于:所述连接块(2)的一端固定安装有软管(12),所述弹簧(13)、第二限位杆(16)和第二限位槽(17)均为两组对称设置。