欢迎来到知嘟嘟! 联系电话:13336804447 卖家免费入驻,海量在线求购! 卖家免费入驻,海量在线求购!
知嘟嘟
我要发布
联系电话:13336804447
知嘟嘟经纪人
收藏
专利号: 202320931455X
申请人: 合肥木迪医疗科技发展有限公司
专利类型:实用新型
专利状态:已下证
专利领域: 医学或兽医学;卫生学
更新日期:2025-03-25
缴费截止日期: 暂无
价格&联系人
年费信息
委托购买

摘要:

权利要求书:

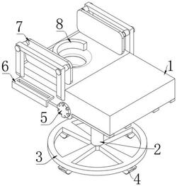
1.神经外科手术固定架,包括固定床本体(1),其特征在于:所述固定床本体(1)的外壁设有电控升降柱(2),所述电控升降柱(2)的外壁设有底部支撑盘(3),所述底部支撑盘(3)的外壁设有底部转运滑轮(4),所述固定床本体(1)的外壁设有抬升驱动电机(5),所述固定床本体(1)的外壁设有病历存储槽(6),所述固定床本体(1)的外壁设有头部固定器(7),是固定床本体(1)的外壁设有头部固定槽(8),所述头部固定器(7)和头部固定槽(8)能在手术中对患者头部进行保护。

2.根据权利要求1所述的神经外科手术固定架,其特征在于:所述固定床本体(1)的外壁设有防护软垫(9),所述固定床本体(1)的外壁设有触摸控制器(10),所述防护软垫(9)的外壁固定装配有头部固定槽(8)。

3.根据权利要求1所述的神经外科手术固定架,其特征在于:所述固定床本体(1)的内壁开设有透气槽(11),所述固定床本体(1)的外壁固定装配有固定支护架(12)。

4.根据权利要求2所述的神经外科手术固定架,其特征在于:所述触摸控制器(10)包括有控制器本体(1001),所述控制器本体(1001)的外壁设有传输器(1002),所述传输器(1002)的外壁设有触摸板(1003),所述控制器本体(1001)与触摸板(1003)通过传输器(1002)转动连接。

5.根据权利要求1所述的神经外科手术固定架,其特征在于:所述头部固定器(7)包括有外部固定架(701),所述外部固定架(701)的外壁设有电控限位柱(702),所述电控限位柱(702)的外壁设有防护软板(703),所述防护软板(703)主要由硅橡胶制成。

6.根据权利要求2所述的神经外科手术固定架,其特征在于:所述触摸控制器(10)与电控升降柱(2)、抬升驱动电机(5)、头部固定器(7)之间皆为电性连接。