欢迎来到知嘟嘟! 联系电话:13336804447 卖家免费入驻,海量在线求购! 卖家免费入驻,海量在线求购!
知嘟嘟
我要发布
联系电话:13336804447
知嘟嘟经纪人
收藏
专利号: 2021101984027
申请人: 温州职业技术学院
专利类型:发明专利
专利状态:已下证
专利领域: 家具;家庭用的物品或设备;咖啡磨;香料磨;一般吸尘器
更新日期:2024-04-03
缴费截止日期: 暂无
价格&联系人
年费信息
委托购买

摘要:

权利要求书:

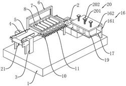
1.一种财务会计票据分类收集器,包括工作台(1),其特征在于:所述工作台(1)上设置有传送台(21)和安装架(6),所述安装架(6)上设置有支撑架(7),所述支撑架(7)上水平转动设置有若干抚平辊(8),若干所述抚平辊(8)位于所述传送台(21)的正上方、且沿所述传送台(21)的运动方向依次排布,所述工作台(1)上设置有储存盒(2),所述储存盒(2)位于所述传送台(21)的运动终止端的正下方,所述储存盒(2)水平滑动设置于所述工作台(1)上,所述储存盒(2)内竖直设置有若干隔板(14),若干所述隔板(14)将所述储存盒(2)分为若干独立的储存空间(15);

所述工作台(1) 上设置有固定架(16),所述固定架(16)上水平设置有盖板(17),当所述储存盒(2)滑移至所述盖板(17)的正下方时,所述盖板(17)对若干所述储存空间(15)同时进行封盖;

所述盖板(17)上贯穿有若干与所述储存空间(15)一一对应的安装孔(18),每个所述安装孔(18)内均竖直滑动穿设有压紧柱(19),所述压紧柱(19)的四周侧壁与相应的所述储存空间(15)的四周内壁相契合,所述压紧柱(19)与所述固定架(16)之间设置有控制机构(20),所述控制机构(20) 用于驱动相应的所述压紧柱(19)竖直运动;

所述控制机构 (20)包括竖直螺纹设置于所述固定架(16)上的控制杆(201)以及设置于所述控制杆(201)上的手轮(202),所述控制杆(201)的下端端部与相应的所述压紧柱(19)转动连接;

所述支撑架(7) 竖直滑动设置于所述安装架(6)上,所述工作台(1)上设置有用于驱动所述支撑架(7)竖直运动的驱动件;

所述驱动件为设置于所述工作台(1)上的电动推杆(13),所述电动推杆(13)的伸缩端与所述支撑架(7)连接;

所述工作台(1) 上设置有两个安装块(3),所述传送台(21)的运动起始端位于两个所述安装块(3)之间,两个所述安装块(3)相互靠近的端面分别设置有位于所述传送台(21)上方的定位板(4),两个所述定位板(4)之间形成供票据滑移穿过的定位槽(5);

当使用上述收集器时,将票据放入两个定位板之间,然后通过传送台对票据进行运输,并使得票据经过抚平辊,以此同时,通过电机的输出轴带动驱动轮转动,然后通过驱动轮驱动皮带带动若干从动轮转动,再利用从动轮驱动相应的抚平辊转动,并且抚平辊的转动方向与传送台的台面的转动方向相反且转速相同;

随后,当票据经过抚平辊时,若干抚平辊即可对票据进行抚平作业,同时,若干抚平辊和传送台能够同时对票据进行运输,当票据位于传送台的运动终止端时,票据即可落入相应的储存空间内,从而实现票据的稳定收集;

然后,即可拉动储存盒朝向盖板运动,并使得若干储存空间分别与相应的压紧柱对准,然后旋动手轮带动控制杆转动,再利用控制杆驱动相应的压紧柱竖直向下运动,从而使得压紧柱插入相应的储存空间内,此时,压紧柱的下端面能够对位于相应的储存空间内的票据进行压紧抚平,进而实现票据存储时的抚平。