欢迎来到知嘟嘟! 联系电话:13336804447 卖家免费入驻,海量在线求购! 卖家免费入驻,海量在线求购!
知嘟嘟
我要发布
联系电话:13336804447
知嘟嘟经纪人
收藏
专利号: 2022215995972
申请人: 烟台通用电力设备有限公司
专利类型:实用新型
专利状态:已下证
专利领域: 压力机
更新日期:2024-01-17
缴费截止日期: 暂无
价格&联系人
年费信息
委托购买

摘要:

权利要求书:

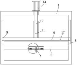
1.一种财务会计用会计票据处理装置,包括挤压箱(1),所述挤压箱(1)的内壁固定连接有一个底板(2),所述底板(2)的内部贯穿开设有一个滑动腔(3),所述滑动腔(3)的内壁滑动连接有一个滑动块(4),所述滑动块(4)的下表面呈对称状固定连接有两个弹簧(5),且两个所述弹簧(5)的另一端与底板(2)固定相连,所述底板(2)的上表面位于滑动腔(3)的位置贯穿开设有一个凹槽(6),所述凹槽(6)的内壁滑动连接有一个T字块(7),且所述T字块(7)的一端贯穿延伸至滑动腔(3)内并与滑动块(4)固定相连,其特征在于,所述挤压箱(1)的两端内壁均贯穿开设有一个滑槽(8),两个所述滑槽(8)的内壁均滑动连接有一个滑块(9),两个所述滑块(9)均延伸至对应的滑槽(8)外并共同固定连接有一个挤压块(10),所述挤压块(10)的上表面固定连接有一个螺纹管(11),所述螺纹管(11)的内壁螺纹连接有一根螺纹杆(12),所述滑动块(4)的下表面转动连接有一个移动块(13),且所述移动块(13)贯穿延伸至底板(2)外。2.根据权利要求1所述的一种财务会计用会计票据处理装置,其特征在于:所述挤压箱(1)的上表面位于螺纹杆(12)的位置固定连接有一个驱动电机(14),且所述螺纹杆(12)通过转轴贯穿延伸至挤压箱(1)外并通过联轴器与驱动电机(14)固定相连。3.根据权利要求1所述的一种财务会计用会计票据处理装置,其特征在于:所述移动块(13)延伸至底板(2)外的一端固定连接有一个限位块(15),且所述限位块(15)与底板(2)相抵,所述底板(2)的下表面贯穿开设有一个限位槽(16),且所述限位槽(16)贯穿延伸至滑动腔(3)内,所述限位块(15)与限位槽(16)相匹配。4.根据权利要求1所述的一种财务会计用会计票据处理装置,其特征在于:所述挤压块(10)的下表面固定连接有一个橡胶块(17)。5.根据权利要求1所述的一种财务会计用会计票据处理装置,其特征在于:所述挤压箱(1)的一端设有开口且开口处通过合页铰接有一个箱门(18)。