欢迎来到知嘟嘟! 联系电话:13336804447 卖家免费入驻,海量在线求购! 卖家免费入驻,海量在线求购!
知嘟嘟
我要发布
联系电话:13336804447
知嘟嘟经纪人
收藏
专利号: 2020226581882
申请人: 山东楚谷生物科技有限公司
专利类型:实用新型
专利状态:已下证
专利领域: 破碎、磨粉或粉碎;谷物碾磨的预处理
更新日期:2024-02-28
缴费截止日期: 暂无
价格&联系人
年费信息
委托购买

摘要:

权利要求书:

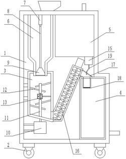
1.一种便于移动的玉米淀粉加工设备,包括箱体(1)以及移动轮(2),所述移动轮(2)设置在所述箱体(1)底面,其特征在于,所述箱体(1)内设置有加工结构;

所述加工结构,包括:粉碎箱(3)、混合箱(4)、水箱(5)、粉碎部以及输送部;

所述粉碎箱(3)、所述混合箱(4)以及所述水箱(5)均设置在所述箱体(1)内,所述粉碎部设置在所述箱体(1)与所述粉碎箱(3)内,所述输送部设置在所述粉碎箱(3)、所述混合箱(4)以及所述水箱(5)之间。

2.根据权利要求1所述的一种便于移动的玉米淀粉加工设备,其特征在于,所述粉碎部,包括:投料箱(6)、伸缩杆(7)、连接杆(8)、塞块(9)、高速电机(10)、传动杆(11)、粉碎刀片(12)、传动箱(13)以及传动齿轮(14);

所述投料箱(6)设置在所述箱体(1)内上表面,所述伸缩杆(7)设置在所述箱体(1)内上表面,所述连接杆(8)设置在所述伸缩杆(7)输出端,所述塞块(9)设置在所述连接杆(8)下端,所述高速电机(10)设置在所述箱体(1)侧表面且输出端穿过所述粉碎箱(3)底面,所述传动杆(11)设置在所述高速电机(10)输出端,所述粉碎刀片(12)设置在所述传动杆(11)上,所述传动箱(13)固定在所述粉碎箱(3)内侧表面且活动套装在所述传动杆(11)之间,所述传动齿轮(14)设置在所述传动箱(13)内侧表面以及所述传动杆(11)一端。

3.根据权利要求1所述的一种便于移动的玉米淀粉加工设备,其特征在于,所述输送部,包括:水泵(15)、输送绞龙(16)、连接管道(17)、网孔罩(18)以及软管(19);

所述水泵(15)设置在所述水箱(5)底面,所述输送绞龙(16)连接在所述粉碎箱(3)侧表面下端,所述连接管道(17)连接在所述输送绞龙(16)与所述混合箱(4)之间,所述网孔罩(18)设置在所述混合箱(4)内上表面,所述软管(19)设置在所述水泵(15)输出端且一端连接在所述连接管道(17)上。

4.根据权利要求2所述的一种便于移动的玉米淀粉加工设备,其特征在于,所述塞块(9)为上窄下宽的圆台形结构。

5.根据权利要求2所述的一种便于移动的玉米淀粉加工设备,其特征在于,所述粉碎刀片(12)呈倾斜状固定。