欢迎来到知嘟嘟! 联系电话:13336804447 卖家免费入驻,海量在线求购! 卖家免费入驻,海量在线求购!
知嘟嘟
我要发布
联系电话:13336804447
知嘟嘟经纪人
收藏
专利号: 2020224903824
申请人: 济南浩诚生物科技有限公司
专利类型:实用新型
专利状态:已下证
专利领域: 有机高分子化合物;其制备或化学加工;以其为基料的组合物
更新日期:2024-04-17
缴费截止日期: 暂无
价格&联系人
年费信息
委托购买

摘要:

权利要求书:

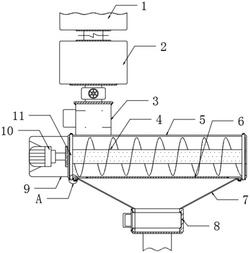
1.一种玉米淀粉生产的脱水破碎系统,包括破碎框(5),其特征在于:所述破碎框(5)顶端左侧固定设置有粉碎框(3),所述粉碎框(3)上端固定设置有储存框(2),所述储存框(2)上端固定设置有脱水机构(1),所述破碎框(5)左侧固定设置有安装框(9),所述安装框(9)内部一侧通过安装座固定设置有电机(10),所述破碎框(5)内部固定设置有挤压螺辊(4),所述电机(10)的输出端固定设置有转杆且转杆在远离电机(10)的一端穿过破碎框(5)与挤压螺辊(4)固定连接,所述破碎框(5)底端固定设置有固定滤板(6),所述破碎框(5)底端固定设置有收集框(7),所述收集框(7)底端多层滤框(8)。

2.根据权利要求1所述的一种玉米淀粉生产的脱水破碎系统,其特征在于:所述收集框(7)顶端四周均固定设置有安装条(12),所述安装条(12)一侧均开设有若干安装孔(14),所述收集框(7)底端在位于安装孔(14)的相对位置均固定设置有安装块(13),所述安装块(13)底端在靠近收集框(7)的一侧均固定设置有限位弹块(15)。

3.根据权利要求2所述的一种玉米淀粉生产的脱水破碎系统,其特征在于:所述破碎框(5)外部两侧与两侧的安装条(12)之间均固定设置有固定环(11)。

4.根据权利要求1所述的一种玉米淀粉生产的脱水破碎系统,其特征在于:所述脱水机构(1)底端与储存框(2)之间固定设置有连接管,所述储存框(2)底端与粉碎框(3)顶端之间固定设置有控制阀管,所述破碎框(5)顶端左侧固定设置有通槽。

5.根据权利要求1所述的一种玉米淀粉生产的脱水破碎系统,其特征在于:所述破碎框(5)左侧开设有转孔,所述破碎框(5)左侧固定设置有轴承。

6.根据权利要求1所述的一种玉米淀粉生产的脱水破碎系统,其特征在于:所述破碎框(5)外部右侧下端固定设置有挡板。