欢迎来到知嘟嘟! 联系电话:13336804447 卖家免费入驻,海量在线求购! 卖家免费入驻,海量在线求购!
知嘟嘟
我要发布
联系电话:13336804447
知嘟嘟经纪人
收藏
专利号: 2020225080097
申请人: 济南浩诚生物科技有限公司
专利类型:实用新型
专利状态:已下证
专利领域: 破碎、磨粉或粉碎;谷物碾磨的预处理
更新日期:2024-03-14
缴费截止日期: 暂无
价格&联系人
年费信息
委托购买

摘要:

权利要求书:

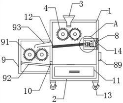
1.一种玉米淀粉生产用破碎装置,包括主体(1),其特征在于:所述主体(1)由底座(2)、加料口(3)、第一破碎轮(4)、筛选网(5)、滑块(6)、固定舱(7)、控制机构(8)、二次处理箱(9)、收集孔(10)、收集箱(11)、滑轨(12)、万向轮(13)和散热网(14)组成,所述加料口(3)设置在第一破碎轮(4),上端,所述第一破碎轮(4)下端设有筛选网(5),所述筛选网(5)两侧设有滑块(6)且通过滑块(6)与滑轨(12)活动连接,所述筛选网(5)一侧滑块(6)连接有固定舱(7),所述固定舱(7)内设有控制机构(8),所述控制机构(8)包括电动机(81)、转动轴(82)、挤压盘(83)、活动板(84)、活动杆(85)、固定板(86)、弹簧(87)和连接块(88),所述电动机(81)前端设置有转动轴(82),所述转动轴(82)与挤压盘(83)连接,所述挤压盘(83)与活动板(84)垂直接触,所述活动板(84)另一面固定有活动杆(85),所述活动杆(85)另一端穿过固定板(86),所述固定板(86)与固定舱(7)固定连接且通过弹簧(87)与活动板(84)连接,所述连接块(88)连接活动杆(85)与滑块(6),所述二次处理箱(9)包括第二破碎轮(91)、导向板(92)和分流管(93),所述分流管(93)一侧位于第二破碎轮(91)上端,另一端位于滑轨(12)上端,所述导向板(92)位于二次处理箱(9)下端,所述收集孔(10)连接导向板(92)与收集箱(11)。

2.根据权利要求1所述的一种玉米淀粉生产用破碎装置,其特征在于:所述万向轮(13)设在底座(2)下端。

3.根据权利要求1所述的一种玉米淀粉生产用破碎装置,其特征在于:所述散热网(14)在电动机(81)一侧。

4.根据权利要求1所述的一种玉米淀粉生产用破碎装置,其特征在于:所述加料口(3)设为漏斗结构。

5.根据权利要求1所述的一种玉米淀粉生产用破碎装置,其特征在于:所述收集箱(11)设为抽屉结构。

6.根据权利要求1所述的一种玉米淀粉生产用破碎装置,其特征在于:所述控制机构(8)内设有调节开关(89)。