欢迎来到知嘟嘟! 联系电话:13336804447 卖家免费入驻,海量在线求购! 卖家免费入驻,海量在线求购!
知嘟嘟
我要发布
联系电话:13336804447
知嘟嘟经纪人
收藏
专利号: 2020226127137
申请人: 天津煜荣机械有限公司
专利类型:实用新型
专利状态:已下证
专利领域: 卷扬;提升;牵引
更新日期:2024-11-12
缴费截止日期: 暂无
价格&联系人
年费信息
委托购买

摘要:

权利要求书:

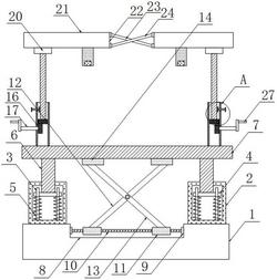
1.一种防断裂平衡器支架,包括固定基座(1),其特征在于:所述固定基座(1)顶部设置有缓冲机构,所述缓冲机构顶部设置有调节机构;

所述缓冲机构包括设置在固定基座(1)顶部的两个缓冲筒(2),两个所述缓冲筒(2)内部均设置有支撑柱(3),所述支撑柱(3)外部设置有承压板(4),所述支撑柱(3)外部位于承压板(4)底部设置有缓冲弹簧(5),所述承压板(4)顶部设置有连接柱(6),所述连接柱(6)顶端设置有固定板(7),所述固定基座(1)表面开设有凹槽(8),所述凹槽(8)内侧壁设置有两个第一连接块(9),两个所述第一连接块(9)之间设置有连接杆(10),所述连接杆(10)外部套设有两个活动套筒(11),其中一个所述活动套筒(11)顶部设置有第一活动板(12),另一个所述活动套筒(11)顶部设置有第二活动板(13),所述固定板(7)底部设置有两个第二连接块(14);

所述调节机构包括设置在固定板(7)顶部的两个安装筒(15),两个所述安装筒(15)内部均设置有第一伞齿轮(16),所述第一伞齿轮(16)一端设置有调节杆(17),所述第一伞齿轮(16)顶部设置有第二伞齿轮(18),所述第二伞齿轮(18)顶部设置有支撑杆(19),所述支撑杆(19)顶端设置有橡胶垫(20),所述橡胶垫(20)顶部设置有承接板(21),所述承接板(21)表面设置有开口(22),所述开口(22)内部设置有第一弹性条(23)和第二弹性条(24)。

2.如权利要求1所述的一种防断裂平衡器支架,其特征在于:所述第一活动板(12)和第二活动板(13)表面均开设有安装孔,所述安装孔内部设置有连接件(25),所述连接件(25)一端设置有固定帽(26),所述第一活动板(12)和第二活动板(13)交叉设置在第一连接块(9)和第二连接块(14)之间。

3.如权利要求1所述的一种防断裂平衡器支架,其特征在于:所述调节杆(17)一端贯穿安装筒(15)并延伸至安装筒(15)一侧,所述调节杆(17)一端设置有握把(27),所述第一伞齿轮(16)和第二伞齿轮(18)啮合。

4.如权利要求1所述的一种防断裂平衡器支架,其特征在于:所述支撑杆(19)一端贯穿安装筒(15)并延伸至橡胶垫(20)底部,所述安装筒(15)内部位于支撑杆(19)一侧设置紧固环(28),所述紧固环(28)一端设置有螺纹杆(29),所述螺纹杆(29)一端延伸至安装筒(15)一侧,所述螺纹杆(29)一端固定安装有转盘(30)。

5.如权利要求1所述的一种防断裂平衡器支架,其特征在于:所述第一弹性条(23)和第二弹性条(24)呈交叉设置,所述第一弹性条(23)和第二弹性条(24)两端均与承接板(21)固定连接。

6.如权利要求1所述的一种防断裂平衡器支架,其特征在于:所述承接板(21)底部固定设置有挂钩(31),所述第一弹性条(23)和第二弹性条(24)均由锰钢材料制成。

7.如权利要求1所述的一种防断裂平衡器支架,其特征在于:所述支撑柱(3)一端贯穿承压板(4)并延伸至承压板(4)顶部,所述连接柱(6)一端贯穿缓冲筒(2)并延伸至固定板(7)底部,所述连接柱(6)与固定板(7)固定连接。