欢迎来到知嘟嘟! 联系电话:13336804447 卖家免费入驻,海量在线求购! 卖家免费入驻,海量在线求购!
知嘟嘟
我要发布
联系电话:13336804447
知嘟嘟经纪人
收藏
专利号: 2021231569226
申请人: 黑龙江亚述食品科技有限公司
专利类型:实用新型
专利状态:已下证
专利领域: 破碎、磨粉或粉碎;谷物碾磨的预处理
更新日期:2025-01-06
缴费截止日期: 暂无
价格&联系人
年费信息
委托购买

摘要:

权利要求书:

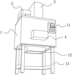
1.谷物加工用碾磨装置,包括碾磨外壳(1),所述碾磨外壳(1)的顶部一侧设有入料箱(2),所述碾磨外壳(1)的底部设有出料底口(12),其特征在于:所述碾磨外壳(1)内转动连接有两个碾磨棍(42),且两个所述碾磨棍(42)的端部均与驱动电机(41)相连接,所述碾磨外壳(1)的顶部设有液压伸缩件(3),所述液压伸缩件(3)内设有伸缩杆(31),所述伸缩杆(31)的底端设有复位垫板(32),且所述复位垫板(32)位于碾磨外壳(1)内,且所述复位垫板(32)位于两个碾磨棍(42)的正上方。

2.根据权利要求1所述的谷物加工用碾磨装置,其特征在于:所述复位垫板(32)的底部开设有弧形底槽(33),且所述弧形底槽(33)与碾磨棍(42)配合使用。

3.根据权利要求1所述的谷物加工用碾磨装置,其特征在于:所述入料箱(2)的内壁设有弧形内板(21),且所述入料箱(2)为L型结构,所述入料箱(2)的底端位于碾磨棍(42)的正上方。

4.根据权利要求1所述的谷物加工用碾磨装置,其特征在于:所述碾磨外壳(1)内对称设有引流板(43),且所述引流板(43)与碾磨棍(42)之间设有缝隙。

5.根据权利要求4所述的谷物加工用碾磨装置,其特征在于:所述引流板(43)的顶部高于入料箱(2)的底部。

6.根据权利要求1所述的谷物加工用碾磨装置,其特征在于:所述碾磨外壳(1)的侧壁设有保护外壳(4),且所述保护外壳(4)将驱动电机(41)包裹在内。

7.根据权利要求1所述的谷物加工用碾磨装置,其特征在于:所述碾磨外壳(1)的侧壁设有操作按键(11),所述碾磨外壳(1)的底部对称设有多个装置支撑柱(13)。