欢迎来到知嘟嘟! 联系电话:13336804447 卖家免费入驻,海量在线求购! 卖家免费入驻,海量在线求购!
知嘟嘟
我要发布
联系电话:13336804447
知嘟嘟经纪人
收藏
专利号: 2020223920381
申请人: 济南浩诚生物科技有限公司
专利类型:实用新型
专利状态:已下证
专利领域: 一般的物理或化学的方法或装置
更新日期:2024-03-14
缴费截止日期: 暂无
价格&联系人
年费信息
委托购买

摘要:

权利要求书:

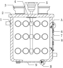
1.一种玉米淀粉生产中用于玉米浸泡加热的装置,包括浸泡框(1),其特征在于:所述浸泡框(1)顶端固定设置有盖板(2),所述盖板(2)顶端固定设置有动力机构(5),所述盖板(2)底端固定设置有搅拌架(4),所述动力机构(5)底端穿过盖板(2)与搅拌架(4)固定连接,所述浸泡框(1)底端中部固定设置有活动板(9),所述活动板(9)左侧与浸泡框(1)之间固定设置有回弹固定铰链,所述浸泡框(1)外部右侧开设有通槽且通槽内部固定设置有挡板(8),所述浸泡框(1)外部左侧上端与右侧底端均固定设置有连接水管。

2.根据权利要求1所述的一种玉米淀粉生产中用于玉米浸泡加热的装置,其特征在于:所述挡板(8)右侧上端、下端的前侧、后侧均固定设置有连接环套(6),所述浸泡框(1)外部右侧上端、下端在位于连接环套(6)的相对位置均固定设置有固定环套(12),所述固定环套(12)与连接环套(6)内部之间均固定设置有固定杆(7)。

3.根据权利要求1所述的一种玉米淀粉生产中用于玉米浸泡加热的装置,其特征在于:所述活动板(9)底端右侧中部与浸泡框(1)底端右侧之间开设有限位通槽(14),所述限位通槽(14)内部之间固定设置有限位杆(15),所述限位通槽(14)内部底端与限位杆(15)之间固定设置有固定弹簧(16)。

4.根据权利要求2所述的一种玉米淀粉生产中用于玉米浸泡加热的装置,其特征在于:所述固定杆(7)顶端穿过固定环套(12) 固定设置有操作环(10),上端所述固定环套(12)一侧上端均固定设置有限位卡杆(11)。

5.根据权利要求1所述的一种玉米淀粉生产中用于玉米浸泡加热的装置,其特征在于:所述活动板(9)右侧中部固定设置有把手。

6.根据权利要求1所述的一种玉米淀粉生产中用于玉米浸泡加热的装置,其特征在于:所述盖板(2)顶端两侧均固定设置有进料斗(3),所述挡板(8)左侧四周开设有密封槽且通槽内部右侧四周固定设置有密封环(13)。