欢迎来到知嘟嘟! 联系电话:13336804447 卖家免费入驻,海量在线求购! 卖家免费入驻,海量在线求购!
知嘟嘟
我要发布
联系电话:13336804447
知嘟嘟经纪人
收藏
专利号: 2020224904314
申请人: 济南浩诚生物科技有限公司
专利类型:实用新型
专利状态:已下证
专利领域: 一般的物理或化学的方法或装置
更新日期:2024-02-28
缴费截止日期: 暂无
价格&联系人
年费信息
委托购买

摘要:

权利要求书:

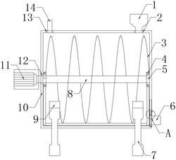
1.一种玉米淀粉调浆装置,包括箱体(10),其特征在于:所述箱体(10)外部底端固定设置有底座(9),所述底座(9)外部左侧右侧前侧后侧均固定设置有支撑杆(7),所述箱体(10)内部左侧中部开设有杆槽(12),所述杆槽(12)内部固定设置有转杆(8),所述转杆(8)外部固定设置有搅拌叶(3),所述转杆(8)外部左侧和右侧均固定设置有固定环(5),所述固定环(5)外部固定设置有嵌合环(4),所述嵌合环(4)外部固定设置有支撑架(15),所述支撑架(15)内部之间固定设置有搅拌杆(16),所述箱体(10)外部左侧中部固定设置有电动机(11),所述电动机(11)输出端与转杆(8)固定连接,所述箱体(10)内部左侧顶端中部开设有管口(13),所述管口(13)内部固定设置有进水管(14),所述箱体(10)内部右侧顶端中部开设有进料口(2),所述进料口(2)内部固定设置有进料斗(1),所述箱体(10)内部右侧下端开设有出料口(19),所述出料口(19)内部固定设置有出料斗,所述箱体(10)内部右侧中部开设有板槽(17),所述板槽(17)内部固定设置有挡板(18),所述挡板(18)位于出料管(6)内部。

2.根据权利要求1所述的一种玉米淀粉调浆装置,其特征在于:所述固定环(5)外部下端均固定设置有卡齿。

3.根据权利要求1所述的一种玉米淀粉调浆装置,其特征在于:所述嵌合环(4)内部下端均固定设置有卡齿。

4.根据权利要求1所述的一种玉米淀粉调浆装置,其特征在于:所述挡板(18)外部右侧顶端中部固定设置有提钮。

5.根据权利要求1所述的一种玉米淀粉调浆装置,其特征在于:所述底座(9)外部顶端固定设置有橡胶垫。

6.根据权利要求1所述的一种玉米淀粉调浆装置,其特征在于:所述电动机(11)采用电性连接并控制开关。