欢迎来到知嘟嘟! 联系电话:13336804447 卖家免费入驻,海量在线求购! 卖家免费入驻,海量在线求购!
知嘟嘟
我要发布
联系电话:13336804447
知嘟嘟经纪人
收藏
专利号: 2020223919859
申请人: 济南浩诚生物科技有限公司
专利类型:实用新型
专利状态:已下证
专利领域: 有机高分子化合物;其制备或化学加工;以其为基料的组合物
更新日期:2024-03-14
缴费截止日期: 暂无
价格&联系人
年费信息
委托购买

摘要:

权利要求书:

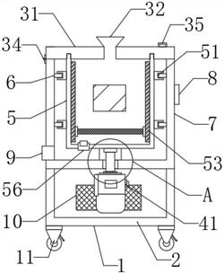
1.一种玉米淀粉生产用浸泡装置,包括主体(1),其特征在于:所述主体(1)由底座(2)、密封机构(3)、转动机构(4)、内胆(5)、限位块(6)、外壳(7)、调节开关(8)、排污口(9)、散热网(10)和万向轮(11)组成,所述密封机构(3)包括上盖板(31)、加注口(32)、定位槽(33)、铰链(34)和拉环(35),所述上盖板(31)通过铰链(34)与外壳(7)活动连接,所述加注口(32)设置在上盖板(31)中间位置,所述定位槽(33)设置在上盖板(31)下端,所述转动机构(4)包括电动机(41)、转动轴(42)、轴承(43)和保护壳(44),所述电动机(41)固定设置在底座(2)内,其前端设有转动轴(42)且通过转动轴(42)与内胆(5)连接,所述转动轴(42)与底座(2)接触部分设有轴承(43),所述内胆(5)包括转动扣(51)、定位环(52)、加热板(53)、固定端(54)、过滤网(55)和电磁阀门(56),所述转动扣(51)固定设置在内胆(5)外侧壁上,所述定位环(52)设置在内胆(5)上端一周,所述加热板(53)设置在内胆(5)内侧,其下端连接有固定端(54),所述固定端(54)内设有过滤网(55),所述电磁阀门(56)设置在内胆(5)下端一侧位置,所述转动扣(51)外侧凹槽部分对应限位块(6),所述限位块(6)固定在外壳(7)内侧,所述外壳(7)外侧设有调节开关(8),所述排污口(9)设置在外壳(7)下端电磁阀门(56)一侧。

2.根据权利要求1所述的一种玉米淀粉生产用浸泡装置,其特征在于:所述底座(2)下端设置有万向轮(11)。

3.根据权利要求1所述的一种玉米淀粉生产用浸泡装置,其特征在于:所述底座(2)一侧设置有散热网(10)。

4.根据权利要求1所述的一种玉米淀粉生产用浸泡装置,其特征在于:所述转动轴(42)伸出部分设有保护壳(44)。

5.根据权利要求1所述的一种玉米淀粉生产用浸泡装置,其特征在于:所述拉环(35)设置在上盖板(31)上。

6.根据权利要求1所述的一种玉米淀粉生产用浸泡装置,其特征在于:所述加注口(32)结构设为漏斗状。