欢迎来到知嘟嘟! 联系电话:13336804447 卖家免费入驻,海量在线求购! 卖家免费入驻,海量在线求购!
知嘟嘟
我要发布
联系电话:13336804447
知嘟嘟经纪人
收藏
专利号: 2020210701954
申请人: 安徽海瀚物联科技有限公司
专利类型:实用新型
专利状态:已下证
专利领域: 信号装置
更新日期:2024-07-15
缴费截止日期: 暂无
价格&联系人
年费信息
委托购买

摘要:

权利要求书:

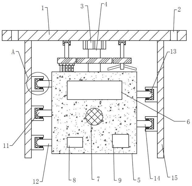
1.一种基于物联网的智能防护报警装置,包括安装板(1),其特征在于:所述安装板(1)上设置有旋转电机(3),所述旋转电机(3)的输出端固定设置有中心轴(4),所述中心轴(4)固定于箱体(5)上,所述箱体(5)的外侧面分别固定设置有显示屏(6)、扬声器(7)、警示灯(8)和报警按钮(9),所述箱体(5)的外侧壁上分别固定设置有温湿度检测器(10)、粉尘检测器(11)、明火检测器(12)、PM2.5检测器(13)和CO2检测器(14),所述安装板(1)的两侧分别固定设置有延长板(15),所述延长板(15)上固定设置有清洁框(16),所述清洁框(16)中设置有清洁海绵(17)和探头清洁软刷(18);

所述中心轴(4)上固定贯穿设置有主动轮(19),所述主动轮(19)的两侧分别啮合设置有第一被动轮(20)和第二被动轮(21),所述第一被动轮(20)靠近箱体(5)的一侧固定设置有毛刷板(22),所述第二被动轮(21)的中心处固定贯穿设置有旋转杆二(25),所述旋转杆二(25)靠近箱体(5)的一侧固定设置有多个散热叶片(26);

所述箱体(5)上开设有上散热网孔(28)和下散热网孔(29),所述箱体(5)的内腔中固定设置有隔离网板(30),所述隔离网板(30)上设置有语音识别控制模块(31)、微处理器(32)和无线收发模块(33),所述箱体(5)的底壁上设置有蓄电池(34)和定位模块(35)。

2.根据权利要求1所述的一种基于物联网的智能防护报警装置,其特征在于:所述安装板(1)上开设有安装孔(2)。

3.根据权利要求1所述的一种基于物联网的智能防护报警装置,其特征在于:所述温湿度检测器(10)、粉尘检测器(11)、明火检测器(12)、PM2.5检测器(13)和CO2检测器(14)依次交错式设置。

4.根据权利要求1所述的一种基于物联网的智能防护报警装置,其特征在于:对应位置的所述清洁海绵(17)的形状分别和温湿度检测器(10)、粉尘检测器(11)、明火检测器(12)、PM2.5检测器(13)、CO2检测器(14)的探头形状相适应。

5.根据权利要求1所述的一种基于物联网的智能防护报警装置,其特征在于:所述第一被动轮(20)远离箱体(5)的一侧中心处固定设置有旋转杆一(23),所述旋转杆一(23)活动设置在轴承座一(24)中,所述轴承座一(24)固定于安装板(1)上。

6.根据权利要求1所述的一种基于物联网的智能防护报警装置,其特征在于:所述旋转杆二(25)远离箱体(5)的一侧活动设置在轴承座二(27)中,所述轴承座二(27)固定于安装板(1)上。