欢迎来到知嘟嘟! 联系电话:13095918853 卖家免费入驻,海量在线求购! 卖家免费入驻,海量在线求购!
知嘟嘟
我要发布
联系电话:13095918853
知嘟嘟经纪人
收藏
专利号: 2020208605821
申请人: 镇江市燿皜电器设备有限公司
专利类型:实用新型
专利状态:已下证
专利领域: 发电、变电或配电
更新日期:2024-08-09
缴费截止日期: 暂无
价格&联系人
年费信息
委托购买

摘要:

权利要求书:

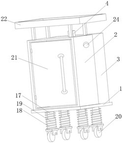
1.一种移动式无功补偿开关柜,包括底板(1),其特征在于:所述底板(1)的顶部固定连接有柜体(2),所述柜体(2)的背部固定连接有散热箱(3),所述散热箱(3)的顶部固定连接有电机(4),所述电机(4)的输出轴固定连接有风扇(5),所述柜体(2)的内部固定连接有滤网(6),所述柜体(2)的内部固定连接有横板(7),所述横板(7)的一侧固定连接有电器元件(8),所述散热箱(3)的内部从下至上依次固定连接有第一挡板(9)、第二挡板(10)和第三挡板(11),所述第一挡板(9)的顶部固定连接有吸风机(12),所述第二挡板(10)的顶部固定连接有除尘箱(13),所述吸风机(12)的输入端贯穿散热箱(3)延伸至柜体(2)内部,所述吸风机(12)的输出端贯穿第二挡板(10)并连通除尘箱(13),所述第二挡板(10)的顶部固定连接有制冷机(15),所述制冷机(15)的两个输出端分别贯穿延伸至散热箱(3)和除尘箱(13)的内部,所述第三挡板(11)的顶部固定连接有抽气泵(16),所述抽气泵(16)的输入端贯穿第三挡板(11)与除尘箱(13)连通,所述抽气泵(16)的输出端贯穿散热箱(3)和柜体(2)延伸至柜体(2)的内部,所述底板(1)的底部固定连接有固定杆(17),所述固定杆(17)的外表面滑动连接有滑杆(18),所述滑杆(18)的外表面套接有减震弹簧(19),所述滑杆(18)的底部固定连接有万向轮(20),所述减震弹簧(19)的两端分别与底板(1)和万向轮(20)固定连接。

2.根据权利要求1所述的一种移动式无功补偿开关柜,其特征在于:所述柜体(2)的正面通过合页转动连接有拉门(21),所述拉门(21)的外表面固定连接有把手。

3.根据权利要求1所述的一种移动式无功补偿开关柜,其特征在于:所述柜体(2)的顶部固定连接有遮挡板(22),所述遮挡板(22)的顶部开设有凹槽。

4.根据权利要求1所述的一种移动式无功补偿开关柜,其特征在于:所述柜体(2)的背面开设有滤孔(23),所述滤孔(23)等距离分布。

5.根据权利要求1所述的一种移动式无功补偿开关柜,其特征在于:所述柜体(2)的侧面开设有电线孔(24),所述电线孔(24)的内部设有木塞。

6.根据权利要求1所述的一种移动式无功补偿开关柜,其特征在于:所述除尘箱(13)的内部固定连接有吸尘网(14),所述吸尘网(14)的数量为两个。

我要求购
我不想找了,帮我找吧
您有专利需要变现?
我要出售
智能匹配需求,快速出售