欢迎来到知嘟嘟! 联系电话:13336804447 卖家免费入驻,海量在线求购! 卖家免费入驻,海量在线求购!
知嘟嘟
我要发布
联系电话:13336804447
知嘟嘟经纪人
收藏
专利号: 2020208605501
申请人: 镇江市燿皜电器设备有限公司
专利类型:实用新型
专利状态:已下证
专利领域: 发电、变电或配电
更新日期:2024-10-26
缴费截止日期: 暂无
价格&联系人
年费信息
委托购买

摘要:

权利要求书:

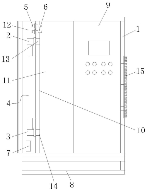
1.一种双门侧开式无功补偿柜,其特征在于:包括柜体(1)、抽风机(2)、排风机(3)、除湿导热机构(4)、温度检测探头(5)、湿度检测探头(6)和PLC控制器(7),其中,所述柜体(1)的底部设有底座(8),所述柜体(1)前端设有双侧开柜门(9),所述柜体(1)的内部左右对称设有竖隔板(10),所述竖隔板(10)将柜体(1)内腔分隔为中隔腔(11)以及位于中隔腔(11)两侧的侧隔腔(12),所述竖隔板(10)的上下端分别设有连通中隔腔(11)和侧隔腔(12)的排气通道(13)和进气通道(14),所述抽风机(2)对应安装于侧隔腔(12)内排气通道(13)处,所述排风机(3)对应安装于侧隔腔(12)内进气通道(14)处,所述除湿导热机构(4)对应安装于侧隔腔(12)内,所述除湿导热机构(4)包括封装壳体(401)、除湿导热组件(402)和导热板(403),所述除湿导热组件(402)自上而下均布于封装壳体(401)内部,所述封装壳体(401)通过导热板(403)嵌装于柜体(1)内壁上,所述封装壳体(401)的内腔顶端和底端分别与抽风机(2)的排气口和排风机(3)的进气口管道连通,所述柜体(1)上设有与导热板(403)对接的散热鳍片(15),所述除湿导热组件(402)包括导热容置架(4021)、安装板(4022)、多孔嵌装筒(4023)和干燥剂包(4024),所述导热容置架(4021)的侧壁与导热板(403)接触,所述安装板(4022)固定安装于导热容置架(4021)内部,所述多孔嵌装筒(4023)均布于安装板(4022)顶部,相邻的多孔嵌装筒(4023)之间形成排湿排热通道,所述干燥剂包(4024)嵌装于多孔嵌装筒(4023)内,所述安装板(4022)上设有与排湿排热通道上下对应的通气孔(4025),所述温度检测探头(5)和湿度检测探头(6)嵌装于竖隔板(10)上,所述温度检测探头(5)和湿度检测探头(6)分别用于实时监测中隔腔(11)内的环境温度和湿度,所述PLC控制器(7)安装于柜体(1)的内壁上,所述PLC控制器(7)分别与抽风机(2)、排风机(3)、温度检测探头(5)和湿度检测探头(6)电性连接。

2.根据权利要求1所述的一种双门侧开式无功补偿柜,其特征在于:所述导热板(403)和导热容置架(4021)均由石墨材料、铜或铝合金材料制成。

3.根据权利要求1所述的一种双门侧开式无功补偿柜,其特征在于:所述导热容置架(4021)与封装壳体(401)滑动配合,所述导热容置架(4021)可于封装壳体(401)内水平移动,所述导热容置架(4021)的前端设有抽拉提手(4026)。

4.根据权利要求1所述的一种双门侧开式无功补偿柜,其特征在于:所述温度检测探头(5)为PT100温度传感器。

5.根据权利要求1所述的一种双门侧开式无功补偿柜,其特征在于:所述湿度检测探头(6)为HX71-V1相对湿度传感器。

我要求购
我不想找了,帮我找吧
您有专利需要变现?
我要出售
智能匹配需求,快速出售