欢迎来到知嘟嘟! 联系电话:13336804447 卖家免费入驻,海量在线求购! 卖家免费入驻,海量在线求购!
知嘟嘟
我要发布
联系电话:13336804447
知嘟嘟经纪人
收藏
专利号: 2020203938857
申请人: 天津市中天第九机床有限公司
专利类型:实用新型
专利状态:已下证
专利领域: 铁的冶金
更新日期:2025-03-05
缴费截止日期: 暂无
价格&联系人
年费信息
委托购买

摘要:

权利要求书:

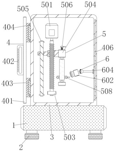
1.一种高频数控淬火机床,包括壳体(3),其特征在于:所述壳体(3)的左侧安装有转动机构(4);

所述转动机构(4)包括转门(401)、把手(402)、夹块(403)、销轴(404)、转夹(405)和磁条(406);

所述转门(401)的左端中间固接有把手(402),所述转门(401)的右端上下两侧均固接有夹块(403),两个所述夹块(403)均通过销轴(404)与转夹(405)转动相连,所述转夹(405)均固接在壳体(3)的上下两侧左端,所述转门(401)的右侧设有磁条(406),所述磁条(406)的后端固接在壳体(3)的右侧中间前端。

2.根据权利要求1所述的一种高频数控淬火机床,其特征在于:所述把手(402)的外壁加工有摩纹。

3.根据权利要求1所述的一种高频数控淬火机床,其特征在于:所述磁条(406)的厚度为2-3cm。

4.根据权利要求1所述的一种高频数控淬火机床,其特征在于:所述壳体(3)的底端固接在底板(1)的顶端中间,所述底板(1)的底端四角均固接有底座(2)。

5.根据权利要求1所述的一种高频数控淬火机床,其特征在于:所述壳体(3)的内部安装有淬火机构(5);

所述淬火机构(5)包括电机(501)、丝杆(502)、转块(503)、夹板(504)、竖杆(505)、顶杆(506)、工件(507)和涡流感应圈(508);

所述电机(501)的后端固接在壳体(3)的左侧上方,所述电机(501)的输出轴固接有丝杆(502),所述丝杆(502)通过转块(503)与壳体(3)转动相连,所述丝杆(502)的上方外壁与夹板(504)的左侧内壁螺纹相连,所述夹板(504)的左侧内壁与竖杆(505)的上方外壁间隙配合,所述竖杆(505)的后端固接在壳体(3)的左侧内部前端,所述夹板(504)的右侧上方内壁与顶杆(506)的中间外壁螺纹相连,所述顶杆(506)底端与工件(507)的顶端中间相贴合,所述工件(507)的底端中间与夹板(504)的右侧下方顶端相贴合,所述工件(507)的下方外壁与涡流感应圈(508)的中间内壁间隙配合,所述涡流感应圈(508)通过导线与外接电源电性相连,所述涡流感应圈(508)的后端固接在壳体(3)的中间下方。

6.根据权利要求1所述的一种高频数控淬火机床,其特征在于:所述壳体(3)的右侧下方内部安装有风冷机构(6);

所述风冷机构(6)包括风机(601)、套管(602)、转球(603)、夹套(604)和螺栓(605);

所述风机(601)的右侧外壁固接在套管(602)的左侧中间内壁,所述套管(602)的右端固接有转球(603),所述转球(603)的右侧外壁与夹套(604)的左侧内壁间隙配合,所述夹套(604)的右侧均通过螺栓(605)与壳体(3)的右侧下方内壁固定相连,所述夹套(604)的左侧上方内壁与螺栓(605)的外壁螺纹相连,所述螺栓(605)的底端与转球(603)的右侧上方外壁相贴合。