欢迎来到知嘟嘟! 联系电话:13336804447 卖家免费入驻,海量在线求购! 卖家免费入驻,海量在线求购!
知嘟嘟
我要发布
联系电话:13336804447
知嘟嘟经纪人
收藏
专利号: 2020202629841
申请人: 天津市中天第九机床有限公司
专利类型:实用新型
专利状态:已下证
专利领域: 铁的冶金
更新日期:2024-03-26
缴费截止日期: 暂无
价格&联系人
年费信息
委托购买

摘要:

权利要求书:

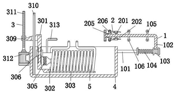
1.一种卧式埋油数控淬火机床,包括箱体(4),其特征在于:所述箱体(4)的内部设有加热圈(5),所述箱体(4)的外壁右侧设有内壁清理机构(1);所述内壁清理机构(1)包括方杆(101)、曲杆(102)、方管(103)、第一弹簧(104)、第一支架(105)、滚轮(106)和橡胶圈(107);所述方杆(101)的左端与箱体(4)的外壁右侧固定连接在一起,所述方杆(101)的上方设有曲杆(102),所述曲杆(102)的底部右侧固定连接有方管(103),所述方管(103)的内壁与方杆(101)的外壁间隙配合,所述方杆(101)的外壁右侧套接有第一弹簧(104),所述第一弹簧(104)的左右两端分别与方管(103)和曲杆(102)相抵紧,所述曲杆(102)的顶部和底部对应固接有第一支架(105),所述第一支架(105)的末端通过销轴转动连接有滚轮(106),所述曲杆(102)的外壁左端固定连接有橡胶圈(107)。2.根据权利要求1所述的一种卧式埋油数控淬火机床,其特征在于:所述橡胶圈(107)的壁厚为五毫米。3.根据权利要求1所述的一种卧式埋油数控淬火机床,其特征在于:所述曲杆(102)的顶部左侧和底部左侧均设有驱动机构(2);所述驱动机构(2)包括支座(201)、电磁铁(202)、第二支架(203)、第一滑块(204)、滑轨(205)、轮毂电机(206)、橡胶套(207)和钢杆(208);所述支座(201)与曲杆(102)固定连接在一起,所述支座(201)的末端固定连接有电磁铁(202),所述电磁铁(202)的左侧设有第二支架(203),所述第二支架(203)靠近曲杆(102)的一端固定连接有第一滑块(204),所述第一滑块(204)的内壁与滑轨(205)的外壁滑动卡接在一起,所述滑轨(205)与曲杆(102)固定连接在一起,所述第二支架(203)的末端固定连接有轮毂电机(206),所述轮毂电机(206)的外壁固定连接有橡胶套(207),所述第二支架(203)的右侧固定连接有钢杆(208)。4.根据权利要求3所述的一种卧式埋油数控淬火机床,其特征在于:所述钢杆(208)的右侧高度与电磁铁(202)的左侧高度相同。5.根据权利要求1所述的一种卧式埋油数控淬火机床,其特征在于:所述加热圈(5)的左侧设有升降组件(3);所述升降组件(3)包括竖杆(301)、第一支杆(302)、底座(303)、第二支杆(304)、第二弹簧(305)、竖管(306)、第二滑块(307)、第一基座(308)、第二基座(309)、六棱柱(310)、螺纹杆(311)和伺服电机(312);所述竖杆(301)的右侧底部固定连接有第一支杆(302),所述第一支杆(302)的底部固定连接有底座(303),所述底座(303)的顶部与加热圈(5)的底部固定连接在一起,所述竖杆(301)的外壁间隙配合有竖管(306),所述竖管(306)的内壁左右两侧均固定连接有第二滑块(307),所述第二滑块(307)与竖杆(301)的外壁滑动卡接在一起,所述竖管(306)的外壁右侧固定连接有第二支杆(304),所述第二支杆(304)的底部固定连接有第二弹簧(305),所述第二弹簧(305)的底部与第一支杆(302)的顶部固定连接在一起,所述竖杆(301)的左侧顶部固定连接有第一基座(308),所述第一基座(308)的内壁与六棱柱(310)的外壁间隙配合,所述六棱柱(310)的底部与箱体(4)的内壁底部左侧固定连接在一起,所述第一基座(308)的左侧固定连接有第二基座(309),所述第二基座(309)的内壁螺纹连接有螺纹杆(311),所述螺纹杆(311)的底部与伺服电机(312)的输出端固定连接在一起,所述伺服电机

(312)的外壁右侧与箱体(4)的外壁左侧固定连接在一起。6.根据权利要求5所述的一种卧式埋油数控淬火机床,其特征在于:所述第二支杆(304)的顶部固定连接有把手(313)。

我要求购
我不想找了,帮我找吧
您有专利需要变现?
我要出售
智能匹配需求,快速出售