欢迎来到知嘟嘟! 联系电话:13336804447 卖家免费入驻,海量在线求购! 卖家免费入驻,海量在线求购!
知嘟嘟
我要发布
联系电话:13336804447
知嘟嘟经纪人
收藏
专利号: 2020202627244
申请人: 天津市中天第九机床有限公司
专利类型:实用新型
专利状态:已下证
专利领域: 铁的冶金
更新日期:2024-03-26
缴费截止日期: 暂无
价格&联系人
年费信息
委托购买

摘要:

权利要求书:

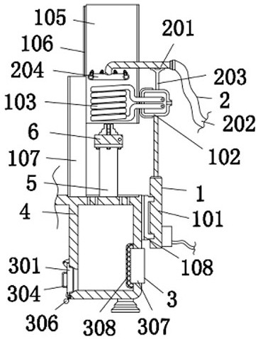
1.一种立式三维数控淬火机床,包括机床(4),其特征在于:所述机床(4)的顶部固定连接有基座(5),所述基座(5)的顶部固定连接有三爪卡盘(6),所述机床(4)的内部右侧开设有空腔(7),所述空腔(7)的顶部等距开设有竖孔(8),所述机床(4)的上方设有加热组件(1);所述加热组件(1)包括伸缩电机(101)、壳体(102)、加热圈(103)、陶瓷板(104)、第一半圆板(105)、滑轨(106)、第二半圆板(107)和第一支座(108);所述伸缩电机(101)的左侧通过第一支座(108)与机床(4)的右侧固定连接在一起,所述伸缩电机(101)的输出端与壳体(102)的外壁底部固定连接在一起,所述壳体(102)的左侧设有加热圈(103),所述加热圈(103)的右端贯穿壳体(102)的外壁左侧并延伸至壳体(102)的内部,所述加热圈(103)与壳体(102)固定连接在一起,所述壳体(102)的外壁左侧与陶瓷板(104)的右侧固定连接在一起,所述加热圈(103)的外壁固定连接有第一半圆板(105),所述第一半圆板(105)的左侧设有第二半圆板(107),所述第一半圆板(105)的左侧与第二半圆板(107)的右侧相贴合,且第一半圆板(105)通过滑轨(106)与第二半圆板(107)滑动卡接在一起,所述第二半圆板(107)的底部与机床(4)的顶部固定连接在一起。2.根据权利要求1所述的一种立式三维数控淬火机床,其特征在于:所述竖孔(8)的内径为五毫米。3.根据权利要求1所述的一种立式三维数控淬火机床,其特征在于:所述壳体(102)的上方设有冷却组件(2);所述冷却组件(2)包括曲管(201)、软管(202)、第二支座(203)、环形管(204)和喷头(205);所述曲管(201)的顶部右侧固定连接有第二支座(203),所述第二支座(203)的底部与壳体(102)的顶部固定连接在一起,所述曲管(201)的右端连通有软管(202),所述曲管(201)的左端底部与环形管(204)的右侧相连通,所述环形管(204)的顶部呈四十五度环形连通有喷头(205)。4.根据权利要求3所述的一种立式三维数控淬火机床,其特征在于:所述喷头(205)与竖直方向所呈锐角为四十五度。5.根据权利要求1所述的一种立式三维数控淬火机床,其特征在于:所述空腔(7)的内部设有收集机构(3);所述收集机构(3)包括盖体(301)、第一支架(302)、第二支架(303)、第一把手(304)、挂钩(305)、第二把手(306)、风机(307)和网罩(308);所述盖体(301)的左侧顶部固定连接有第一支架(302),所述第一支架(302)的顶部通过销轴与第二支架(303)的底部转动相连,所述第二支架(303)的末端与机床(4)固定连接在一起,所述盖体(301)的右侧与机床(4)相贴合,所述盖体(301)的左侧下方与挂钩(305)卡接在一起,所述挂钩(305)的外壁右侧通过轴承与机床(4)转动相连,所述挂钩(305)的底部固定连接有第二把手(306),所述盖体(301)的左侧固定连接有第一把手(304),所述风机(307)位于空腔(7)的内部并贯穿空腔(7)的右侧,所述风机(307)的左侧设有网罩(308),所述网罩(308)的右侧与空腔(7)的内壁右侧固定连接在一起。6.根据权利要求5所述的一种立式三维数控淬火机床,其特征在于:所述盖体(301)与机床(4)贴合处夹合有橡胶圈。

我要求购
我不想找了,帮我找吧
您有专利需要变现?
我要出售
智能匹配需求,快速出售