欢迎来到知嘟嘟! 联系电话:13336804447 卖家免费入驻,海量在线求购! 卖家免费入驻,海量在线求购!
知嘟嘟
我要发布
联系电话:13336804447
知嘟嘟经纪人
收藏
专利号: 2020202108416
申请人: 刘娟娟
专利类型:实用新型
专利状态:已下证
专利领域: 道路、铁路或桥梁的建筑
更新日期:2024-02-23
缴费截止日期: 暂无
价格&联系人
年费信息
委托购买

摘要:

权利要求书:

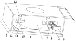
1.一种园林施工用放线车,包括基座(1)和把手(2),所述基座(1)右侧的顶部与把手(2)的左侧固定连接,其特征在于:所述基座(1)内下表面的中部与粉箱(3)的底部固定连接,所述粉箱(3)下表面的中部与漏斗(19)的顶部连通,所述漏斗(19)的底部穿过基座(1)的底部,所述基座(1)底部的左侧和右侧均转动连接有第一转轴(5),所述第一转轴(5)的两端均与全向轮(4)的中部套接,所述基座(1)内右侧分别与两组固定板(6)的右侧固定连接,两组所述固定板(6)中位于后侧的固定板(6)的前侧与轴承座(7)螺接,所述轴承座(7)的中部与第二转轴(9)的后端卡接,所述第二转轴(9)位于第一转轴(5)的顶部,所述第二转轴(9)的前端与减速电机(8)的输出端固定连接,所述减速电机(8)与两组固定板(6)中位于前侧的固定板(6)螺接,所述第二转轴(9)的前端与第一柱齿轮(10)地中部卡接,所述第一柱齿轮(10)与第二柱齿轮(11)相互啮合,所述第二柱齿轮(11)的中部与第一转轴(5)外表面的中部卡接,所述基座(1)内顶部的左侧和右侧均与液压缸(12)的顶部螺接,所述液压缸(12)的输出端与推杆(13)的顶端固定连接,所述推杆(13)的底端与推板(14)上表面的中部固定连接,所述推板(14)下表面的前侧和后侧均与连接杆(15)的顶端固定连接,所述连接杆(15)的底端与尖锥(16)的顶部卡接,所述基座(1)左侧的底部与引导板(17)的右侧卡接,所述基座(1)正面的右侧与固定座(18)的背面固定连接。

2.根据权利要求1所述的一种园林施工用放线车,其特征在于:所述基座(1)的底部开设有两组尖锥槽,尖锥槽的宽度与连接杆(15)的宽度相适配,所述连接杆(15)的高度略大于尖锥槽的深度。

3.根据权利要求1所述的一种园林施工用放线车,其特征在于:所述尖锥(16)和引导板(17)的形状均为三角形,且尖锥(16)和引导板(17)均为高碳钢,所述尖锥(16)的长度与连接杆(15)的长度相适配。

4.根据权利要求1所述的一种园林施工用放线车,其特征在于:所述固定座(18)的中部开设有螺纹孔,所述基座(1)的顶部开设有进料口,进料口位于粉箱(3)的顶部。

5.根据权利要求1所述的一种园林施工用放线车,其特征在于:所述第二转轴(9)的长度略小于第一转轴(5)的长度,所述第一柱齿轮(10)的分度圆直径小于第二柱齿轮(11)的分度圆直径。

6.根据权利要求1所述的一种园林施工用放线车,其特征在于:所述固定板(6)的表面均匀开设有多组散热孔,所述减速电机(8)的右侧设置有散热扇。