欢迎来到知嘟嘟! 联系电话:13336804447 卖家免费入驻,海量在线求购! 卖家免费入驻,海量在线求购!
知嘟嘟
我要发布
联系电话:13336804447
知嘟嘟经纪人
收藏
专利号: 2020115506223
申请人: 西安理工大学
专利类型:发明专利
专利状态:已下证
专利领域: 发电、变电或配电
更新日期:2024-01-05
缴费截止日期: 暂无
价格&联系人
年费信息
委托购买

摘要:

权利要求书:

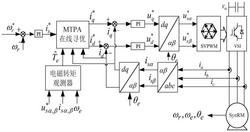
1.一种新型同步磁阻电机最大转矩电流比在线寻优方法,其特征在于:具体包括如下步骤:

步骤1,建立同步磁阻电机的数学模型;

步骤2,在αβ坐标系下建立基于自适应低通滤波器的同步磁阻电机电磁转矩观测器,估计出同步磁阻电机的电磁转矩;

步骤3,在dq坐标系下,根据电磁转矩估计值对定子电流角进行补偿,提出并定义了稳态误差阀值,系统进入相对稳态后对定子电流角进行在线搜索优化。

2.根据权利要求1所述的一种新型同步磁阻电机最大转矩电流比在线寻优方法,其特征在于:所述步骤1中,同步磁阻电机的数学模型表示为:式(1)中,uα、uβ分别为定子电压在αβ轴上电压分量;iα、iβ分别为αβ轴上的定子电流分量;Rs为定子电阻; 为αβ轴上的定子磁链,公式(1)可转换为:此时,同步磁阻电机电磁转矩Te表示为:式(3)中,p为同步磁阻电机极对数。

3.根据权利要求2所述的一种新型同步磁阻电机最大转矩电流比在线寻优方法,其特征在于:所述步骤2的具体过程为:步骤2.1,采用如下公式(4)对定子磁链进行补偿:其中, 为补偿后的αβ轴磁链,k为磁链补偿系数;

步骤2.2,采用自适应低通滤波器代替纯积分环节,将公式(4)改写为如下公式(5):其中,ωe为同步磁阻电机电角速度, 表示自适应低通滤波器,k|ωe|为滤波器截止频率, 为αβ轴磁链估计值;

将公式(1)代入公式(5)可得:步骤2.3,将公式(6)代入公式(3)中,得到电磁转矩估计值 根据电磁转矩估计值 估计出同步磁阻电机的电磁转矩:

4.根据权利要求3所述的一种新型同步磁阻电机最大转矩电流比在线寻优方法,其特征在于:所述步骤3的具体过程为:步骤3.1,在dq轴旋转坐标系,同步磁阻电机定子电流d轴和q轴电流分量服从如下分配关系:

式(8)中,is为转速环PI输出的定子电流幅值给定值,θ为电流矢量角,id为d轴电流分量,iq为q轴电流分量;同步磁阻电机旋转坐标系下电磁转矩公式为:式(9)中,Te为电磁转矩,Ld为d轴电感,Lq为q轴电感,将公式(8)代入公式(9)得到:步骤3.2,采用电磁转矩估计值来对电流矢量角进行补偿以提高控制系统动态性能,补偿角度为:

式(11)中, 为dq轴下定子电流补偿角,kp为可调常数;补偿后的定子电流矢量角为:

式(12)中,θ0为补偿后的定子电流矢量角,将公式(11)代入公式(12)中,得到:步骤3.3,系统未达到稳态时,以公式(13)得到的角度作为电流矢量角,当系统达到相对稳态后,电磁转矩保持相对稳定时,开始进行在线寻优,在线搜索寻优前,稳态的判定条件为:

|θ0(k)‑θ0(0)|≤ζ   (14);

式(14)、(15)、(16)中,ζ定义为稳态误差阀值,θ0(0)为在线寻优搜索开始前一刻转矩补偿后的电流矢量角, 为在线寻优搜索开始前一刻转矩估计值,θ0(k)为搜索过程中第k次搜索时由转矩补偿的电流矢量角, 为搜索过程中第k次搜索时转矩估计值;

当k=0时, 等于 θ0(k)等于θ0(k),满足公式(14),开始在线寻优搜索;当k≠0时,若|θ0(k)‑θ0(0)|≤ζ,θ0(k)与θ0(k)之间的误差满足要求,继续进行在线搜索;若|θ0(k)‑θ0(0)|>≤ζ,判断系统未进入稳态,重新开始搜索,并对θ0(0)进行更新,即:θ0(0)=θ0(k)   (17);

在线寻优搜索过程中,电流矢量角度初始值由θ0(0)决定,而在线寻优搜索过程中的θ0(k)不对在线寻优搜索时的电流矢量角度初始值产生影响,因此系统开始在线寻优搜索时的初始角度可以表示为:

θ(0)=θ0(0)   (18);

式(18)中,θ(0)为寻优时初始角度;

步骤3.4,对补偿后的定子电流角进行在线搜索优化,实现最大转矩电流比控制,在线搜索优化过程中的电流角变化如下式所示:θ(k+1)=θ(k)+Δθ(k)   (19);

式(19)中,θ(k)、θ(k+1)分别为角度搜索前一拍与搜索后一拍的定子电流角度,搜索角度范围设定为π/4到5π/12,每一拍搜索周期为Ts,寻优初始值为θ(0),k为整数,k=0,1,

2...;Δθ为寻优过程中每一拍定子电流角度改变量,Δθ用函数表示为:n

Δθ(k)=ki(‑b)   (20);

公式(20)中,ki为搜索系数,为一个常值,b为小于1的正数,n为方向变化次数,n=0,1,

2...;

步骤3.5,选取同步磁阻电机的定子电流反馈值的幅值作为比较对象,并进行如下处理:

式(21)中,Isd(k+1)为寻优过程中第k到k+1拍定子电流幅值的平均值,Is为定子电流幅值,比较前提为相对稳定时,每一拍搜索前后的Isd(k)的变化状况;当isd(k+1)<isd(k)时,电流幅值变小,保持当前寻优方向,n=n;当isd(k+1)≥isd(k)时,电流幅值增加,改变寻优方向,n=n+1,寻优方向变化次数最大为nmax;此外,设置搜索次数为k,每寻优一次,搜索次数k=k+1,最大搜索次数为kmax,当搜索次数超过最大搜索次数时,停止搜索;在线寻优最终* *

得到的搜索角度作为定子电流角给定值θ,因此θ表示为:将公式(15)、(18)代入公式(22),得到:

5.根据权利要求4所述的一种新型同步磁阻电机最大转矩电流比在线寻优方法,其特征在于:所述步骤3.1中,对公式(10)进行分析可知,当dq轴电感Ld和Lq为常值,输出电磁转矩Te保持不变,定子电流矢量角θ等于π/4时,定子电流幅值is最小。