欢迎来到知嘟嘟! 联系电话:13336804447 卖家免费入驻,海量在线求购! 卖家免费入驻,海量在线求购!
知嘟嘟
我要发布
联系电话:13336804447
知嘟嘟经纪人
收藏
专利号: 2020107224812
申请人: 沈阳促晋科技有限公司
专利类型:发明专利
专利状态:授权未缴费
专利领域: 水利工程;基础;疏浚
更新日期:2025-06-13
缴费截止日期: 暂无
价格&联系人
年费信息
委托购买

摘要:

权利要求书:

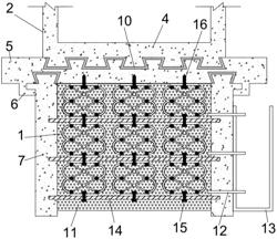
1.一种兼具承载抗震和抗浮能力的地下结构加强体系,包括承载拉压耗能体(1)、地下结构(2)、混凝土垫层(5)、混凝土支撑截水墙(7)、挤压密封耗能填充物(10)、透水砂层(11)、溢流管(12)、集水井(13)、高强抗浮固结板(14)、连接件A(15)、连接件B(16),其特征在于:地下结构(2)的下部设置地下结构底板(4),所述地下结构底板(4)的下部间隔设置梯形凸块(3)和梯形凹槽(9),地下结构底板(4)的下方设置混凝土垫层(5),所述混凝土垫层(5)的上部间隔设置梯形凸块(3)和梯形凹槽(9),混凝土垫层(5)的下部左右两侧均设置L形的抗浮榫槽(6)和梯形凹槽(9),混凝土垫层(5)下方左右两侧均设置混凝土支撑截水墙(7)作为支撑,所述混凝土支撑截水墙(7)的上部设置梯形凸块(3)和凸体卡端(8);

将地下结构底板(4)下部的梯形凸块(3)插入混凝土垫层(5)上部的梯形凹槽(9),将混凝土垫层(5)上部的梯形凸块(3)插入地下结构底板(4)下部的梯形凹槽(9),将混凝土支撑截水墙(7)上部的梯形凸块(3)插入混凝土垫层(5)下部的梯形凹槽(9),将混凝土支撑截水墙(7)上部的凸体卡端(8)插入混凝土垫层(5)下部的抗浮榫槽(6),所有的梯形凸块(3)和梯形凹槽(9)之间均设置挤压密封耗能填充物(10);

两个混凝土支撑截水墙(7)之间设置多个高强抗浮固结板(14),所述高强抗浮固结板(14)的左右两端插入混凝土支撑截水墙(7)中,每个高强抗浮固结板(14)上方均设置承载拉压耗能体(1),所述承载拉压耗能体(1)的结构中设置多个高强固定铰(19)和普通固定铰(20),高强固定铰(19)位于结构两侧,普通固定铰(20)位于结构中间,每个普通固定铰(20)和与其邻近的四个高强固定铰(19)之间设置协调连接支撑板(21)进行连接,承载拉压耗能体(1)结构的上下侧设置端部连接板(17)、两侧设置竖向支撑耗能板(18),端部连接板(17)、竖向支撑耗能板(18)与高强固定铰(19)固定连接,采用连接件A(15)对高强抗浮固结板(14)和端部连接板(17)进行连接,采用连接件B(16)对混凝土垫层(5)和端部连接板(17)进行连接,两个混凝土支撑截水墙(7)之间的空余部分填充透水砂层(11);

集水井(13)设置在混凝土支撑截水墙(7)的外侧且顶部低于混凝土垫层(5),设置多个溢流管(12)贯穿混凝土支撑截水墙(7),所述溢流管(12)一端和透水砂层(11)连通、另一端和集水井(13)连通;

端部连接板(17)、竖向支撑耗能板(18)和协调连接支撑板(21)采用低屈服点钢板制成;

挤压密封耗能填充物(10)采用树脂胶制成。

2.权利要求1所述一种兼具承载抗震和抗浮能力的地下结构加强体系,其特征在于:混凝土垫层(5)、混凝土支撑截水墙(7)采用防水混凝土制成。

3.权利要求1所述一种兼具承载抗震和抗浮能力的地下结构加强体系,其特征在于:高强抗浮固结板(14)、连接件A(15)、连接件B(16)、端部连接板(17)、竖向支撑耗能板(18)、高强固定铰(19)、普通固定铰(20)和协调连接支撑板(21)的外表面刷有防腐涂层。

4.权利要求1所述一种兼具承载抗震和抗浮能力的地下结构加强体系,其特征在于:凸体卡端(8)插入抗浮榫槽(6)中形成L型咬合的抗浮组合结构。