欢迎来到知嘟嘟! 联系电话:13336804447 卖家免费入驻,海量在线求购! 卖家免费入驻,海量在线求购!
知嘟嘟
我要发布
联系电话:13336804447
知嘟嘟经纪人
收藏
专利号: 2020219222071
申请人: 山东亚汉检测技术有限公司
专利类型:实用新型
专利状态:已下证
专利领域: 水利工程;基础;疏浚
更新日期:2024-06-05
缴费截止日期: 暂无
价格&联系人
年费信息
委托购买

摘要:

权利要求书:

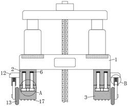
1.一种地基基础抗拔承载性能检测设备,包括检测设备本体(1),其特征在于,所述检测设备本体(1)的下端两侧均固定连接上基座(2),所述上基座(2)的下端设有与其对应的下基座(3),所述下基座(3)的内部设有装置腔(4),所述装置腔(4)内转动连接有两排对称设置转轴(5),两排所述转轴(5)的上端均延伸至下基座(3)的上端固定连接有螺纹杆(6),所述上基座(2)的下端设有与螺纹杆(6)配合的两排内螺纹孔(7),所述装置腔(4)内设有与两排转轴(5)配合的驱动装置,所述上基座(2)的侧壁设有移动装置。

2.根据权利要求1所述的一种地基基础抗拔承载性能检测设备,其特征在于,所述驱动装置包括固定连接在转轴(5)下端的蜗轮(8),所述装置腔(4)内转动连接有蜗杆(9),所述蜗杆(9)位于两排蜗轮(8)之间并与其啮合,所述蜗杆(9)的一端延伸至下基座(3)的外壁固定安装有摇把(10)。

3.根据权利要求1所述的一种地基基础抗拔承载性能检测设备,其特征在于,所述移动装置包括固定连接在两个下基座(3)外壁的支撑架(12),两个所述支撑架(12)的下端均通过缓冲装置固定安装有多个滚轮(13)。

4.根据权利要求3所述的一种地基基础抗拔承载性能检测设备,其特征在于,所述缓冲装置包括固定连接在支撑架(12)下端的缓冲套筒(14),所述缓冲套筒(14)的下端套设有与其配合的支撑杆(15),所述支撑杆(15)与缓冲套筒(14)的内顶部之间通过缓冲弹簧(16)弹性连接,所述滚轮(13)固定安装在支撑杆(15)的下端。

5.根据权利要求1所述的一种地基基础抗拔承载性能检测设备,其特征在于,两排所述内螺纹孔(7)的入口处内壁均设有密封圈(11)。

6.根据权利要求1所述的一种地基基础抗拔承载性能检测设备,其特征在于,两个所述下基座(3)的下端均设有防滑纹(17)。