欢迎来到知嘟嘟! 联系电话:13336804447 卖家免费入驻,海量在线求购! 卖家免费入驻,海量在线求购!
知嘟嘟
我要发布
联系电话:13336804447
知嘟嘟经纪人
收藏
专利号: 2020106487030
申请人: 赵雪莉
专利类型:发明专利
专利状态:已下证
专利领域: 液力机械或液力发动机;风力、弹力或重力发动机;其他类目中不包括的产生机械动力或反推力的发动机
更新日期:2025-12-19
缴费截止日期: 暂无
价格&联系人
年费信息
委托购买

摘要:

权利要求书:

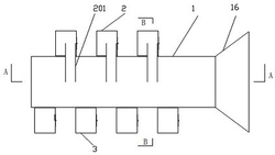
1.一种河流发电装置,包括截流管道(1)、轴流叶轮(9)和发电机(12),其特征在于,所述截流管道(1)呈筒状结构,并且所述截流管道(1)一端设有截流口(16)另一端封闭,所述截流管道(1)内部沿中心轴位置固定连接有固定轴(4),所述固定轴(4)上环绕固定有从截流口(16)方向观察为右旋的右旋螺旋导流叶片(5),所述截流管道(1)的上侧设有与其最外侧相切并朝向右侧的三个截流支管A(201),所述截流支管A(201)与截流管道(1)上对应的通孔A(101)连接,并且所述通孔A(101)设置在靠近右旋螺旋导流叶片(5)上半部分的右侧,所述截流管道(1)的下侧设有与其最外侧相切并朝向左侧的四个截流支管B(301),所述截流支管B(301)与截流管道(1)上对应的通孔B(102)连接,并且所述通孔B(102)设置在靠近右旋螺旋导流叶片(5)下半部分的右侧位置,并且所述每个截流支管A(201)和截流支管B(301)水平端的另一端分别固定连接有发电装置A(2)和发电装置B(3),所述发电装置A(2)和发电装置B(3)形状结构,其区别在于发电装置A(2)位于对应的截流支管A(201)的右下方并与其相切,所述发电装置B(3)位于对应的截流支管B(301)的左上方并与其相切,所述发电装置包括罩壳(6),所述罩壳(6)的内空腔设有转筒(7),所述转筒(7)与截流口(16)同向的一端末端套在罩壳(6)的前端板(601)正中心处安装的轴承(10)中,所述转筒(7)的外侧面固定连接有圆弧叶轮(8),所述转筒(7)的内部并且靠近前端板(601)位置固定连接有轴流叶轮(9),所述罩壳(6)的内腔并且与前端板(601)相反的一端固定连接有套有电机安装筒(11)的发电机(12),所述电机安装筒(11)通过两侧固定连接的连接杆B(15)与罩壳(6)内侧壁固定连接,所述发电机(12)上设置的输入轴(13)贯穿电机安装筒(11)并延伸至外侧的一端朝向转筒(7),所述输入轴(13)四周设置的连接杆A(14)另一端固定连接在转筒(7)的内侧壁上。

2.根据权利要求1所述的一种河流发电装置,其特征在于,所述圆弧叶轮(8)叶片呈逆时针弯曲。

3.根据权利要求1所述的一种河流发电装置,其特征在于,所述圆弧叶轮(8)的长度与截流支管的直径相同。

4.根据权利要求1所述的一种河流发电装置,其特征在于,所述截流口(16)呈向四周展开的喇叭状。

5.根据权利要求1所述的一种河流发电装置,其特征在于,所述固定轴(4)与固定端反向即靠近截流口(16)的一端中心处固定连接有朝外的尖端(401)。

6.根据权利要求1所述的一种河流发电装置,其特征在于,所述右旋螺旋导流叶片(5)的最外侧与截流管道(1)的内壁接触连接。

7.根据权利要求1所述的一种河流发电装置,其特征在于,所述转筒(7)两端为开口设置,并且朝向前端板(601)的一端贯穿前端板(601)。

8.根据权利要求1所述的一种河流发电装置,其特征在于,所述发电机(12)与蓄电池电性连接。

9.根据权利要求1所述的一种河流发电装置,其特征在于,所述装置使用时将截流口(16)朝向水流的反方向安装在河流水中。