欢迎来到知嘟嘟! 联系电话:13336804447 卖家免费入驻,海量在线求购! 卖家免费入驻,海量在线求购!
知嘟嘟
我要发布
联系电话:13336804447
知嘟嘟经纪人
收藏
专利号: 2020105339667
申请人: 盐城支点机械制造有限公司
专利类型:发明专利
专利状态:已下证
专利领域: 塑料的加工;一般处于塑性状态物质的加工
更新日期:2024-08-26
缴费截止日期: 暂无
价格&联系人
年费信息
委托购买

摘要:

权利要求书:

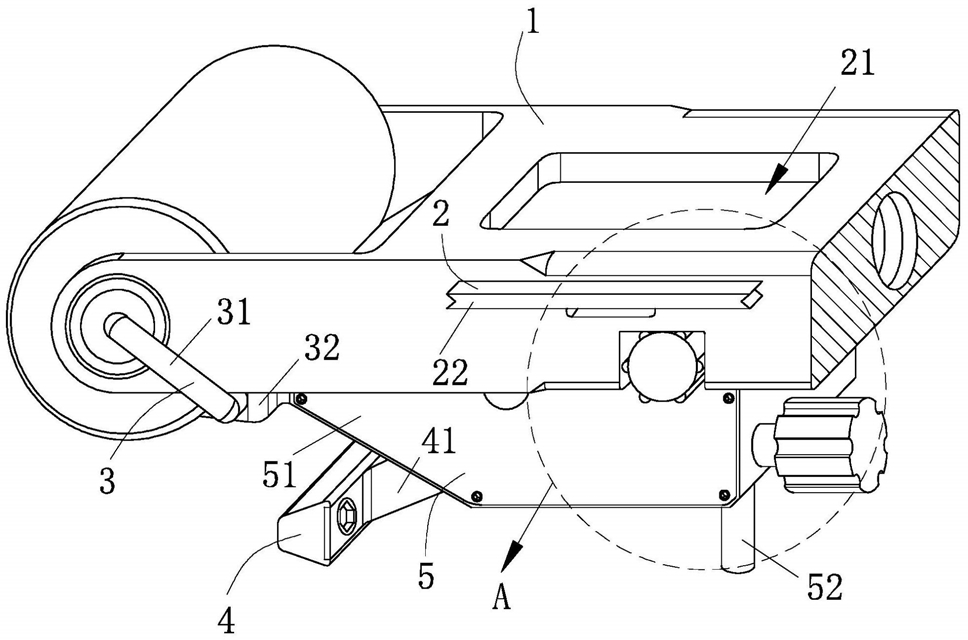
1.一种可进行精密调节的阀门,其特征在于:包括压轮滑架(1)、密封结构(2)、去屑结构(3)、喷淋结构(4)、阀门结构(5)、流速控制结构(6)和角度调节结构(7);所述压轮滑架(1)上设有用于对所述阀门结构(5)上的螺栓进行防护的所述密封结构(2),所述密封结构(2)与所述压轮滑架(1)之间可拆卸连接,且用于控制水流流速的所述阀门结构(5)与所述压轮滑架(1)之间可拆卸连接;所述阀门结构(5)上设有用于控制水流速度的所述流速控制结构(6),用于清理压轮上废屑和对压轮降温的所述去屑结构(3)固定于所述阀门结构(5);

所述阀门结构(5)上设有用于对成型的缠绕管进行喷淋降温的所述喷淋结构(4),所述阀门结构(5)的内部设有用于调节所述喷淋结构(4)的角度的所述角度调节结构(7);

所述阀门结构(5)包括阀门本体(51)、进水管(52)、导流通道(53)和排水管(54),所述阀门本体(51)与所述压轮滑架(1)之间螺栓连接,所述阀门本体(51)的内部设有用于导流的所述导流通道(53),所述进水管(52)的端部贯穿于所述阀门本体(51)且与所述导流通道(53)的中部导通,所述排水管(54)的一端贯穿于所述阀门本体(51)且与所述导流通道(53)的一端导通,所述导流通道(53)的另外一端与所述去屑结构(3)导通;

所述流速控制结构(6)包括旋钮(61)、第一丝杆(62)、第一齿条(63)、第一齿轮(64)、转轴(65)和球阀芯(66),所述阀门本体(51)的两端对称设有两个转动连接的所述第一丝杆(62),端部设有半圆柱体结构的凸起的所述旋钮(61)与所述第一丝杆(62)之间滑动连接,所述第一丝杆(62)的端部设有螺纹连接的所述第一齿条(63),且所述第一齿条(63)与所述阀门本体(51)之间滑动连接,所述第一齿条(63)啮合于所述第一齿轮(64),所述第一齿轮(64)固定于所述转轴(65),所述转轴(65)与所述阀门本体(51)之间转动连接,所述转轴(65)背离所述第一齿轮(64)的一端设有带有通孔的所述球阀芯(66),两个所述球阀芯(66)均于所述阀门本体(51)之间转动连接,两个所述球阀芯(66)设于所述导流通道(53)的两端;

所述喷淋结构(4)包括连接杆(41)、喷管(42)和多个第二喷孔(43),所述连接杆(41)的一端与所述阀门本体(51)之间转动连接,所述连接杆(41)背离所述阀门本体(51)的一端设有所述喷管(42),所述喷管(42)上设有多个用于对缠绕管进行喷淋降温的所述第二喷孔(43),与其中一个所述球阀芯(66)对应的所述排水管(54)的端部固定于所述喷管(42)且与所述第二喷孔(43)导通;

所述角度调节结构(7)包括第二丝杆(71)、第二齿条(72)、导向轴(73)和第二齿轮(74),所述导向轴(73)贯穿连接于所述阀门本体(51)和所述连接杆(41),所述连接杆(41)固定于所述导向轴(73),所述导向轴(73)与所述阀门本体(51)之间转动连接,所述导向轴(73)的端部设有所述第二齿轮(74),所述第二齿条(72)与所述第二齿轮(74)之间啮合,所述第二齿条(72)与所述阀门本体(51)之间滑动连接,所述第二丝杆(71)贯穿连接于所述阀门本体(51)和所述第二齿条(72),所述第二丝杆(71)与所述阀门本体(51)之间转动连接,所述第二丝杆(71)与所述第二齿条(72)之间螺纹连接;

所述去屑结构(3)包括两根连接管(31)、导向套(32)、多个第一喷孔(33)、导流槽(34)、刮板(35)和扭力弹簧(36),所述导向套(32)固定于所述阀门本体(51)的端部,所述导向套(32)上设有所述导流槽(34),多个所述第一喷孔(33)贯穿于所述导向套(32)且与所述导流槽(34)导通,一根U形结构的所述连接管(31)的一端固定于所述阀门本体(51)且与另外一个所述球阀芯(66)对应的所述导流通道(53)导通,另外一根所述连接管(31)固定于所述导向套(32)且与所述导流槽(34)导通,两个所述连接管(31)的端部之间导通,所述刮板(35)的端部与所述导向套(32)之间转动连接,所述扭力弹簧(36)的两端分别固定于所述导向套(32)和所述刮板(35)。

2.根据权利要求1所述的一种可进行精密调节的阀门,其特征在于:所述导流通道(53)呈U形结构。

3.根据权利要求2所述的一种可进行精密调节的阀门,其特征在于:所述密封结构(2)包括凹槽(21)、密封板(22)和通孔(23),所述压轮滑架(1)上设有所述凹槽(21),所述密封板(22)与所述压轮滑架(1)之间卡合,用于对所述凹槽(21)进行密封的所述密封板(22)设于所述阀门本体(51)的顶端,所述密封板(22)的底端边缘处和所述压轮滑架(1)之间设有所述通孔(23)。

4.根据权利要求3所述的一种可进行精密调节的阀门,其特征在于:所述第一丝杆(62)的截面的端部为T形结构,所述第一丝杆(62)与所述旋钮(61)滑动部位为除了圆柱体的任意一种。

5.根据权利要求4所述的一种可进行精密调节的阀门,其特征在于:所述刮板(35)背离导向套(32)的一端的截面为三角形。