欢迎来到知嘟嘟! 联系电话:13336804447 卖家免费入驻,海量在线求购! 卖家免费入驻,海量在线求购!
知嘟嘟
我要发布
联系电话:13336804447
知嘟嘟经纪人
收藏
专利号: 2020232094249
申请人: 江苏耐斯德阀门有限公司
专利类型:实用新型
专利状态:已下证
专利领域: 手动工具;轻便机动工具;手动器械的手柄;车间设备;机械手
更新日期:2024-02-23
缴费截止日期: 暂无
价格&联系人
年费信息
委托购买

摘要:

权利要求书:

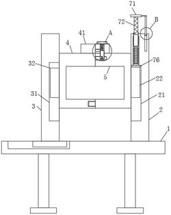
1.一种精密阀门铸件加工用定位结构,其特征在于,包括加工台(1),所述加工台(1)上端一侧固定连接第一固定板(2),所述加工台(1)上端远离第一固定板(2)一侧滑动连接第二固定板(3),所述第一固定板(2)靠近第二固定板(3)一侧开设有第一滑槽(21),所述第一滑槽(21)内滑动连接第一滑块(22),所述第一滑块(22)上安装有定位机构(7),所述第一滑块(22)靠近第二固定板(3)一侧固定连接第一定位框(5),所述第一定位框(5)上安装有连接机构(6),所述第二固定板(3)靠近第一固定板(2)一侧开设有第二滑槽(31),所述第二滑槽(31)内滑动连接第二滑块(32),所述第二滑块(32)靠近第一固定板(2)一侧固定连接第二定位框(4),所述第二定位框(4)上端靠近第一定位框(5)一侧固定连接卡板(43),所述第一定位框(5)靠近第二定位框(4)一侧上端开设有固定槽(51),所述固定槽(51)和卡板(43)卡接,所述第一定位框(5)靠近第二定位框(4)一侧上端固定连接保护块(52)。

2.根据权利要求1所述的一种精密阀门铸件加工用定位结构,其特征在于,所述连接机构(6)包括拉把(61),所述拉把(61)下端固定连接拉杆(66),所述拉杆(66)下端通过轴承穿过保护块(52)内壁固定连接连接板(63),所述连接板(63)上端固定连接第一弹簧(62),所述第一弹簧(62)上端和保护块(52)固定连接,所述连接板(63)下端开设有凹槽(67),所述凹槽(67)内固定连接第二弹簧(64),所述第二弹簧(64)远离凹槽(67)一侧固定连接连接块(65)。

3.根据权利要求1所述的一种精密阀门铸件加工用定位结构,其特征在于,所述定位机构(7)包括拉板(71),所述拉板(71)下端固定连接螺旋杆(72),所述螺旋杆(72)下端螺纹连接螺旋管(73),所述螺旋管(73)通过轴承和第一滑槽(21)内壁固定连接,所述螺旋管(73)下端固定连接螺纹杆(74),所述螺纹杆(74)下端螺纹连接螺纹板(75),所述螺纹板(75)下端固定连接定位块(76),所述定位块(76)和第一滑块(22)固定连接。

4.根据权利要求1所述的一种精密阀门铸件加工用定位结构,其特征在于,所述第一固定板(2)上端一侧开设有限位槽(23),所述限位槽(23)内滑动连接限位杆(8),所述限位杆(8)上端和定位机构(7)的拉板(71)固定连接。

5.根据权利要求1所述的一种精密阀门铸件加工用定位结构,其特征在于,所述第二定位框(4)上端固定连接固定块(41),所述固定块(41)靠近第一定位框(5)一侧固上端固定连接推板(42)。

6.根据权利要求1所述的一种精密阀门铸件加工用定位结构,其特征在于,所述卡板(43)上端开设有卡槽(44),所述卡槽(44)和连接机构(6)的连接板(63)相适配。