欢迎来到知嘟嘟! 联系电话:13336804447 卖家免费入驻,海量在线求购! 卖家免费入驻,海量在线求购!
知嘟嘟
我要发布
联系电话:13336804447
知嘟嘟经纪人
收藏
专利号: 2020104417705
申请人: 嵊州市万睿科技有限公司
专利类型:发明专利
专利状态:已下证
专利领域: 一般车辆
更新日期:2025-12-10
缴费截止日期: 暂无
价格&联系人
年费信息
委托购买

摘要:

权利要求书:

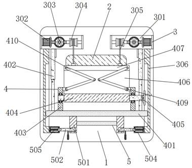
1.一种新能源汽车用遮阳装置,包括第一竖板(1)和窗口(2),所述第一竖板(1)的中间开设有窗口(2),其特征在于:所述第一竖板(1)的前端面上方安装有转动装置(3);

所述转动装置(3)包括凹形板(301)、电机(302)、齿盘(303)、第一辊轮(304)、线绳(305)和第二竖板(306);

左右所述凹形板(301)的后端面与第一竖板(1)的前端面固定相连,左右所述凹形板(301)的凹槽处外壁固接有电机(302),左右所述电机(302)的输出轴加工有螺纹,左右所述凹形板(301)的前端面中间通过转轴转动连接有齿盘(303),左右所述齿盘(303)与电机(302)的输出轴相互啮合,左右所述齿盘(303)的前端面内侧安装有第一辊轮(304),左右所述第一辊轮(304)的内侧辊轴通过轴承与凹形板(301)的内部转动相连,左右所述第一辊轮(304)的外侧辊轴处加工有螺纹,左右所述第一辊轮(304)的辊轴与齿盘(303)相互啮合,左右所述第一辊轮(304)的外壁缠绕连接有线绳(305),左右所述凹形板(301)的下表面固接有第二竖板(306),左右所述第二竖板(306)的后端面与第一竖板(1)的前端面固定相连,左右所述第二竖板(306)的内侧开设有滑槽。

2.根据权利要求1所述的一种新能源汽车用遮阳装置,其特征在于:左右所述电机(302)的输出轴螺纹处与齿盘(303)的齿牙处啮合比为1:1。

3.根据权利要求1所述的一种新能源汽车用遮阳装置,其特征在于:左右所述第一辊轮(304)的辊轴处中点在同一水平线上。

4.根据权利要求1所述的一种新能源汽车用遮阳装置,其特征在于:所述第二竖板(306)的内侧安装有升降装置(4);

所述升降装置(4)包括第一横板(401)、电动推杆(402)、第三竖板(403)、第二辊轮(404)、第一把手(405)、遮阳布(406)、第二横板(407)、方形块(408)、第一连杆(409)和第二连杆(410);

所述第一横板(401)的左右两侧外壁与第二竖板(306)的滑槽处外壁间隙配合,所述第一横板(401)的上表面固接有多个电推杆(402),左右所述电动推杆(402)的上表面与凹形板(301)的下表面固定相连,所述第一横板(401)的上表面固接有多个第三竖板(403),左右所述第三竖板(403)的内部上方通过轴承转动连接有第二辊轮(404),所述第二辊轮(404)的右侧辊轴固接有第一把手(405),所述第二辊轮(404)的外壁缠绕连接有遮阳布(406),所述遮阳布(406)的上方固接有第二横板(407),所述第二横板(407)的上方与线绳(305)的下方固定相连,左右所述第三竖板(403)的内侧上方固接有方形块(408),左右所述方形块(408)的前端面通过销轴活动连接有第一连杆(409),左右所述第一连杆(409)的内侧上方通过销轴活动连接有第二连杆(410),左右所述第二连杆(410)的上方通过销轴与第二横板(407)的前端面外侧活动相连。

5.根据权利要求4所述的一种新能源汽车用遮阳装置,其特征在于:左右所述第一连杆(409)以第二横板(407)的中点为中心呈对称分布。

6.根据权利要求4所述的一种新能源汽车用遮阳装置,其特征在于:所述第一横板(401)的下方安装有固定装置(5);

所述固定装置(5)包括H形板(501)、T形斜板(502)、第二把手(503)、箱体(504)和弹簧(505);

所述H形板(501)的上表面与第一横板(401)的下表面固定相连,所述H形板(501)的下方左右两侧均开设有凹槽,所述H形板(501)的凹槽处安装有T形斜板(502),左右所述T形斜板(502)的内侧外壁与H形板(501)的凹槽处内壁间隙配合,左右所述T形斜板(502)的下表面中间固接有第二把手(503),左右所述T形斜板(502)的外壁安装有箱体(504),左右所述箱体(504)的内侧开设有开口,左右所述T形斜板(502)的外壁分别与箱体(504)的内壁和开口处外壁间隙配合,左右所述箱体(504)的内部安装有弹簧(505),左右所述弹簧(505)的两侧分别与箱体(504)和T形斜板(502)固定相连。

7.根据权利要求6所述的一种新能源汽车用遮阳装置,其特征在于:左右所述T形斜板(502)的外侧长度尺寸大于箱体(504)的开口处长度尺寸。

8.根据权利要求6所述的一种新能源汽车用遮阳装置,其特征在于:所述H形板(501)与第一横板(401)相互垂直。

9.根据权利要求6至8中任一项所述的一种新能源汽车用遮阳装置的应用,其特征在于:当操作人员需要使用新能源汽车用遮阳装置时,首先操作人员接通电机(302)的外接电源,启动电机(302),使电机(302)通过输出轴带动齿盘(303)进行转动,齿盘(303)带动第一辊轮(304)进行转动,第一辊轮(304)通过线绳(305)带动第二横板(407)进行移动,使第二横板(407)带动遮阳布(406)进行移动,遮阳布(406)带动第二辊轮(404)进行转动,同时第二横板(404)带动第一连杆(409)和第二连杆(410)进行移动,这样便达到了遮阳的目的,拉动第二把手(503),使第二把手(503)带动T形斜板(502)进行移动,T形斜板(502)对弹簧(505)进行挤压,接通电动推杆(402)的外接电源,启动电动推杆(402),通过电动推杆(402)带动第一横板(401)进行移动,使第一横板(401)带动H形板(501)进行移动,当H形板(501)下方的凹槽处移动至与T形斜板(502)位置一致时,关闭电动推杆(402),通过弹簧(505)的弹力性能使T形斜板(502)对H形板(501)进行固定,这样便达到了防止汽车行驶过程中遮阳布(406)掉落的目的。