欢迎来到知嘟嘟! 联系电话:13336804447 卖家免费入驻,海量在线求购! 卖家免费入驻,海量在线求购!
知嘟嘟
我要发布
联系电话:13336804447
知嘟嘟经纪人
收藏
专利号: 2019222526629
申请人: 广东顺德中泽模具有限公司
专利类型:实用新型
专利状态:已下证
专利领域: 塑料的加工;一般处于塑性状态物质的加工
更新日期:2024-07-15
缴费截止日期: 暂无
价格&联系人
年费信息
委托购买

摘要:

权利要求书:

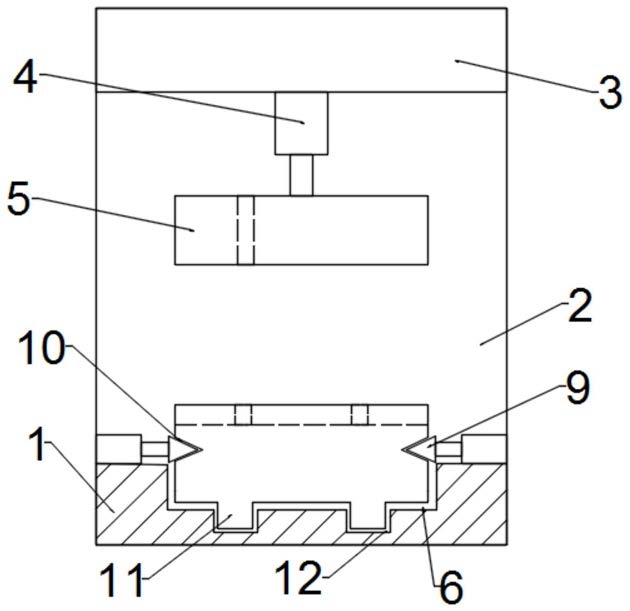
1.酒店冷冻设备模具,其特征在于,包括固定座,固定座形状为长方体,固定座的顶面连接有支架,支架的上端连接有连接座,连接座的底面连接有第一气缸,第一气缸竖直设置,第一气缸的底面连接有上模,第一气缸推动上模上下移动,固定座顶面成型有安装槽,安装槽内设有下模,下模的底面成型有滑块,安装槽内成型有滑槽,滑槽与固定座的长度方向平行,滑块与滑槽滑动配合,固定座顶面的左右两端安装有第二气缸,第二气缸横向设置,第二气缸的内侧连接有固定块,第二气缸推动固定块左右移动,下模的左右两侧成型有卡槽,当下模安装在安装槽内时,第二气缸推动固定块朝内移动卡进卡槽内。

2.根据权利要求1所述的酒店冷冻设备模具,其特征在于,固定座的顶面安装有第三气缸,第三气缸与固定座的长度方向平行设置,第三气缸的前端连接有推块,第三气缸推动推块前后移动,当第三气缸推动推块向前移动时,推块的前面与下模的后面接触,当第二气缸带动固定块朝外移动,固定块脱离卡槽时,推块推动下模向前移动。

3.根据权利要求1所述的酒店冷冻设备模具,其特征在于,固定块的形状为三棱柱。

4.根据权利要求2所述的酒店冷冻设备模具,其特征在于,推块的形状为长方体。