欢迎来到知嘟嘟! 联系电话:13336804447 卖家免费入驻,海量在线求购! 卖家免费入驻,海量在线求购!
知嘟嘟
我要发布
联系电话:13336804447
知嘟嘟经纪人
收藏
专利号: 2024206409730
专利类型:实用新型
专利状态:未下证
专利领域: 暂无
更新日期:2024-12-23
缴费截止日期: 暂无
价格&联系人
年费信息
委托购买

摘要:

权利要求书:

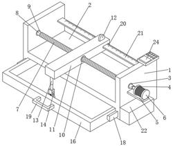
1.一种用于酒店家具加工的精剪装置,包括主体(1)和传动槽(2),其特征在于:所述传动槽(2)开设在主体(1)表面,所述传动槽(2)内壁穿设有第一轴承(3),所述第一轴承(3)中穿设有第一转轴(4),所述主体(1)表面固定连接有支撑座(5),所述支撑座(5)上表面固定连接有电机(6),所述第一转轴(4)一端固定连接在电机(6)输出轴另一端,所述第一转轴(4)另一端固定连接有螺纹柱(7),所述螺纹柱(7)另一端固定连接有第二转轴(8),所述传动槽(2)内壁穿设有第二轴承(9),所述第二转轴(8)另一端穿设在第二轴承(9)中,所述螺纹柱(7)表面螺纹连接有螺纹管(10),所述螺纹管(10)表面固定连接有移动块(11),所述移动块(11)上表面固定连接有距离传感器(12),所述移动块(11)底部固定连接有电动推杆(13),所述电动推杆(13)下端固定连接有裁剪组件(14)。

2.根据权利要求1所述的一种用于酒店家具加工的精剪装置,其特征在于:所述主体(1)底部开设有活动槽(15),所述活动槽(15)中滑动连接有压框(16),所述活动槽(15)内壁开设有滑槽(17),所述滑槽(17)中滑动连接有滑块(18),所述滑块(18)固定连接在压框(16)表面,所述滑槽(17)和滑块(18)共有两组,并且对称设置在压框(16)表面,所述压框(16)表面固定连接有把手(19)。

3.根据权利要求1所述的一种用于酒店家具加工的精剪装置,其特征在于:所述裁剪组件(14)包括U形架(1401),所述U形架(1401)固定连接在电动推杆(13)下端,所述U形架(1401)表面开设有缓冲槽(1402),所述缓冲槽(1402)共有两组,并且对称设置在U形架(1401)表面,所述缓冲槽(1402)内壁固定连接有伸缩杆(1403),所述伸缩杆(1403)表面套接有弹簧(1404),所述伸缩杆(1403)下端固定连接有缓冲块(1405),所述缓冲块(1405)表面穿设有第三轴承(1406),所述第三轴承(1406)中穿设有第三转轴(1407),所述第三转轴(1407)另一端穿设在另一组第三转轴(1407)中,所述第三转轴(1407)表面固定连接有滚刀(1408)。

4.根据权利要求1所述的一种用于酒店家具加工的精剪装置,其特征在于:所述移动块(11)表面开设有限位槽(20),所述限位槽(20)中穿设有校准尺(21),所述校准尺(21)固定连接在传动槽(2)内壁。

5.根据权利要求1所述的一种用于酒店家具加工的精剪装置,其特征在于:所述主体(1)表面固定连接有电箱(22),所述电箱(22)中固定连接有蓄电池(23)。

6.根据权利要求1所述的一种用于酒店家具加工的精剪装置,其特征在于;所述主体(1)上表面固定连接有控制器(24)。

7.根据权利要求1所述的一种用于酒店家具加工的精剪装置,其特征在于:所述主体(1)材料为质地较轻的铝合金材料。

我要求购
我不想找了,帮我找吧
您有专利需要变现?
我要出售
智能匹配需求,快速出售