欢迎来到知嘟嘟! 联系电话:13336804447 卖家免费入驻,海量在线求购! 卖家免费入驻,海量在线求购!
知嘟嘟
我要发布
联系电话:13336804447
知嘟嘟经纪人
收藏
专利号: 2019201811327
申请人: 银川特锐宝信息技术服务有限公司
专利类型:实用新型
专利状态:已下证
专利领域: 生物化学;啤酒;烈性酒;果汁酒;醋;微生物学;酶学;突变或遗传工程
更新日期:2024-02-28
缴费截止日期: 暂无
价格&联系人
年费信息
委托购买

摘要:

权利要求书:

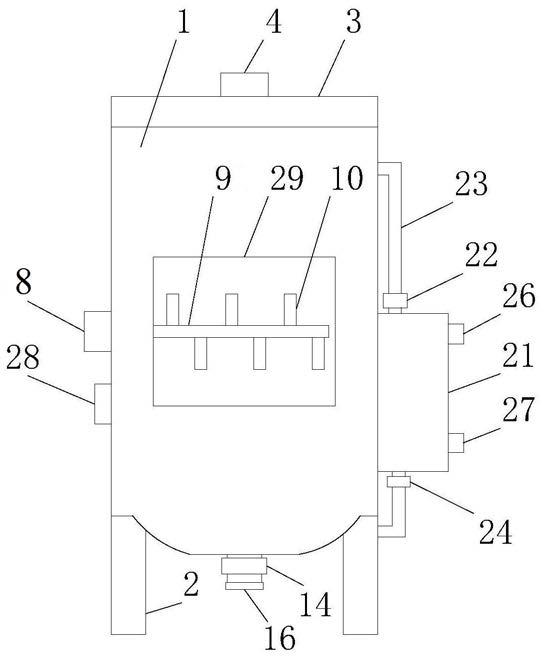
1.一种葡萄酒专用冷冻机,包括外壳(1),其特征在于,所述外壳(1)的底端固定设有支撑腿(2),所述外壳(1)的顶端固定设有顶盖(3),所述顶盖(3)的顶端固定设有入口(4),所述入口(4)的下方固定设有过滤网(5),所述顶盖(3)的两侧固定设有卡块(6),所述外壳(1)的内表面固定设有一层保温层(7),所述外壳(1)内固定设有搅拌装置,所述外壳(1)的上方固定设有液位传感器(11),所述外壳(1)的下方固定设有温度传感器(12),所述外壳(1)的底端固定设有出酒口(13),所述出酒口(13)上固定设有沉淀区(14),所述沉淀区(14)内固定设有过滤网板(15),所述保温层(7)内固定设有制冷装置,所述外壳(1)的一侧面固定设有控制器(28),所述外壳(1)的外表面固定设有观察窗(29),所述液位传感器(11)和温度传感器(12)通过导线与外部电源相连接,且液位传感器(11)和温度传感器(12)的控制输出端与控制器(28)的控制输入端相连接,所述控制器(28)与外部电源电性连接。

2.根据权利要求1所述的一种葡萄酒专用冷冻机,其特征在于,所述搅拌装置包括电机(8),所述电机(8)固定连接在外壳(1)的外表面,所述电机(8)上固定连接有搅拌轴(9),所述搅拌轴(9)延伸至外壳(1)内,所述搅拌轴(9)上均匀设有叶片(10),所述电机(8)通过导线与外部电源相连接,且电机(8)的控制输入端与控制器(28)的控制输出端相连接。

3.根据权利要求1所述的一种葡萄酒专用冷冻机,其特征在于,所述制冷装置包括U形槽(17)、水箱(21),所述U形槽(17)固定设置在保温层(7)内,所述U形槽(17)内均匀设有制冷片(18)和发热片(19),所述U形槽(17)的底端固定设有出口(20),所述U形槽(17)的顶端连接有水管(23),所述水管(23)远离U形槽(17)的一端固定设有第一水泵(22),所述第一水泵(22)远离水管(23)的一端固定连接在水箱(21)上,所述水箱(21)固定连接在外壳(1)的侧壁上,所述水箱(21)的底端固定连接有第二水泵(24),所述第二水泵(24)通过水管与出口(20)连接,所述水箱(21)内固定设有制冷器(25),所述水箱(21)一侧面的上下两端固定设有水流入口(26)和水流出口(27),所述制冷片(18)、发热片(19)、第一水泵(22)、第二水泵(24)和制冷器(25)均通过导线与外部电源相连接,且制冷片(18)、发热片(19)、第一水泵(22)、第二水泵(24)和制冷器(25)的控制输入端与控制器(28)的控制输出端相连接。

4.根据权利要求1所述的一种葡萄酒专用冷冻机,其特征在于,所述过滤网(5)为圆桶状。

5.根据权利要求1所述的一种葡萄酒专用冷冻机,其特征在于,所述保温层(7)的顶端固定设有与卡块(6)相匹配的卡槽。

6.根据权利要求1所述的一种葡萄酒专用冷冻机,其特征在于,所述出酒口(13)的底端固定设有密封盖(16)。

7.根据权利要求1所述的一种葡萄酒专用冷冻机,其特征在于,所述控制器(28)为单片机控制器,型号为AT89C51。