欢迎来到知嘟嘟! 联系电话:13336804447 卖家免费入驻,海量在线求购! 卖家免费入驻,海量在线求购!
知嘟嘟
我要发布
联系电话:13336804447
知嘟嘟经纪人
收藏
专利号: 2019217237934
申请人: 江苏博尧软件技术有限公司
专利类型:实用新型
专利状态:已下证
专利领域: 信号装置
更新日期:2024-02-23
缴费截止日期: 暂无
价格&联系人
年费信息
委托购买

摘要:

权利要求书:

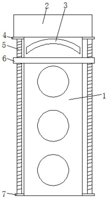
1.一种便于除尘的智能交通信号灯,包括信号灯本体(1)和安装板(6),其特征在于,所述信号灯本体(1)的正面固定有遮雨板(3),所述信号灯本体(1)的两侧顶部均固定有连接板(4),信号灯本体(1)的两侧底部均固定有固定板(7),两个所述固定板(7)的顶部均转动连接有螺纹柱(5),两个螺纹柱(5)的顶部分别贯穿两个连接板(4)延伸至两个连接板(4)的上方,两个螺纹柱(5)分别与两个连接板(4)转动连接,所述信号灯本体(1)的顶部固定有伺服电机(9),伺服电机(9)的输出轴与两个螺纹柱(5)传动连接,两个所述螺纹柱(5)的外部均螺纹连接有移动块(8),两个移动块(8)的一侧均固定有连接柱(13),所述安装板(6)与两个连接柱(13)的另一端固定连接,安装板(6)位于信号灯本体(1)的正面,安装板(6)靠近信号灯本体(1)的一侧固定有毛刷(14),毛刷(14)与信号灯本体(1)相接触,所述信号灯本体(1)的内部固定有控制器(16)。

2.根据权利要求1所述的一种便于除尘的智能交通信号灯,其特征在于,所述伺服电机(9)的输出轴的外部固定有两个第一链轮(10),两个螺纹柱(5)的顶部均固定有第二链轮(11),两个第一链轮(10)和两个第二链轮(11)之间通过链条传动连接。

3.根据权利要求1所述的一种便于除尘的智能交通信号灯,其特征在于,所述信号灯本体(1)的两侧外壁上均开设有限位槽(12),两个移动块(8)靠近信号灯本体(1)的一侧均固定有限位块(15),两个限位块(15)的一端分别延伸至两个限位槽(12)的内部。

4.根据权利要求1所述的一种便于除尘的智能交通信号灯,其特征在于,所述信号灯本体(1)的顶部固定有保护罩(2),保护罩(2)罩设在伺服电机和两个螺纹柱(5)的外部。

5.根据权利要求1所述的一种便于除尘的智能交通信号灯,其特征在于,所述控制器(16)与伺服电机(9)之间通过导线电性连接。